Для генерации ультразвука применяются специальные излучатели магнитострикционного типа. К основным параметрам устройств относится сопротивление и проводимость. Также учитывается допустимая величина частоты. По конструкции устройства могут отличаться. Также надо отметить, что модели активно применяются в эхолотах. Чтобы разобраться в излучателях, важно рассмотреть их схему.
Схема устройства
Стандартный магнитострикционный излучатель ультразвука состоит из подставки и набора клемм. Непосредственно магнит подводится на конденсатор. В верхней части устройства имеется обмотка. У основания излучателей часто устанавливается зажимное кольцо. Магнит подходит только неодимового типа. В верхней части моделей располагается стержень. Для его фиксации применяется кольцо.
Кольцевая модификация
Кольцевые устройства работают при проводимости от 4 мк. Многие модели производятся с короткими подставками. Также надо отметить, что существуют модификации на полевых конденсаторах. Чтобы собрать магнитострикционный излучатель своими руками, применяется обмотка соленоида. При этом клеммы важно устанавливать низкого порогового напряжения. Ферритовый стрежень целесообразнее подбирать небольшого диаметра. Зажимное кольцо ставится в последнюю очередь.
Устройство с яром
Сделать магнитострикционный излучатель своими руками довольно просто. В первую очередь заготавливается стойка под стержень. Далее важно вырезать подставку. Для этого можно использовать металлический диск. Специалисты говорят о том, что подставка в диаметре должна быть не более 3.5 см. Клеммы для устройства подбираются на 20 В. В верхней части модели фиксируется кольцо. При необходимости можно намотать изоленту. Показатель сопротивления у излучателей данного типа находится в районе 30 Ом. Работают они при проводимости не менее 5 мк. Обмотка в данном случае не потребуется.

Модель с двойной обмоткой
Устройства с двойной обмоткой производятся разного диаметра. Проводимость у моделей находится на отметке 4 мк. Большинство устройств обладает высоким волновым сопротивлением. Чтобы сделать магнитострикционный излучатель своими руками, используется только стальная подставка. Изолятор в данном случае не потребуется. Ферритовый стержень разрешается устанавливать на подкладку. Специалисты рекомендуют заранее заготовить уплотнительное кольцо. Также надо отметить, что для сборки излучателя потребуется конденсатор полевого типа. Сопротивление на входе у модели должно составлять не более 20 Ом. Обмотки устанавливаются рядом со стержнем.
Излучатели на базе отражателя
Излучатели данного типа выделяются высокой проводимостью. Работают модели при напряжении 35 В. Многие устройства оснащаются полевыми конденсаторами. Сделать магнитострикционный излучатель своими руками довольно проблематично. В первую очередь надо подобрать стержень небольшого диаметра. При этом клеммы заготавливаются с проводимостью от 4 мк.
Волновое сопротивление в устройстве должно составлять от 45 Ом. Пластина устанавливается на подставке. Обмотка в данном случае не должна соприкасаться с клеммами. В нижней части устройства обязана находиться круглая подставка. Для фиксации кольца часто применяется обычная изолента. Конденсатор напаивается над манганитом. Также надо отметить, что кольца иногда применяются с накладками.

Устройства для эхолотов
Для эхолотов часто используется магнитострикционный излучатель УЗ. Как приготовить модель своими руками? Самодельные модификации производятся с проводимостью от 5 мк. у них в среднем равняется 55 Ом. Чтобы изготовить мощный ультразвуковой стержень применяется на 1.5 см. Обмотка соленоида накручивается с малым шагом.
Специалисты говорят о том, что стойки под излучатели целесообразнее подбирать из нержавейки. При этом клеммы применяются с малой проводимостью. Конденсаторы подходят разного типа. у излучателей находится на отметке 14 Вт. Для фиксации стержня используются резиновые кольца. У основания устройства накручивается изолента. Также стоит отметить, что магнит надо устанавливать в последнюю очередь.

Модификации для рыболокаторов
Устройства для рыболокаторов собираются только с проводными конденсаторами. Для начала требуется установить стойку. Целесообразнее применять кольца диаметром от 4.5 см. Обмотка соленоида обязана плотно прилегать к стержню. Довольно часто конденсаторы припаиваются у основания излучателей. Некоторые модификации производятся на две клеммы. Ферритовый стрежень обязан фиксироваться на изоляторе. Для укрепления кольца используется изолента.

Модели низкого волнового сопротивления
Устройства низкого волнового сопротивления работают при напряжении 12 В. У многих моделей имеются два конденсатора. Чтобы собрать прибор, генерирующий ультразвук, своими руками, потребуется стержень на 10 см. При этом конденсаторы на излучатель устанавливаются проводного типа. Обмотка накручивается в последнюю очередь. Также надо отметить, что для сборки модификации потребуется клемма. В некоторых случаях используются полевые конденсаторы на 4 мк. Параметр частоты будет довольно высокий. Магнит целесообразнее устанавливаться над клеммой.
Устройства высокого волнового сопротивления
Излучатели ультразвука высокого сопротивления хорошо подходят для приемников короткой волны. Собрать самостоятельно устройство можно только на базе переходных конденсаторов. При этом клеммы побираются высокой проводимости. Довольно часто магнит устанавливается на стойке.
Подставка для излучателя применяется малой высоты. Также надо отметить, что для сборки устройства используются один стрежень. Для изоляции его основания подойдет обычная изолента. В верней части излучателя обязано находиться кольцо.

Стержневые устройства
Схема стержневого типа включает в себя проводник с обмоткой. Конденсаторы разрешается применять разной емкости. При этом они могут отличаться по проводимости. Если рассматривать простую модель, то подставка заготавливается круглой формы, а клеммы устанавливаются на 10 В. Обмотка соленоида накручивается в последнюю очередь. Также надо отметить, что магнит подбирается неодимового типа.

Непосредственно стержень применяется на 2.2 см. Клеммы можно устанавливать на подкладке. Также надо упомянуть о том, что существуют модификации на 12 В. Если рассматривать устройства с полевыми конденсаторами высокой емкости, то минимальный диаметр стержня допускается 2.5 см. При этом обмотка должна накручиваться до изоляции. В верхней части излучателя устанавливается защитное кольцо. Подставки разрешается делать без накладки.
Модели с однопереходными конденсаторами
Излучатели данного типа выдают проводимость на уровне 5 мк. При этом показатель волнового сопротивления у них максимум доходит до 45 Ом. Для того чтобы самостоятельно изготовить излучатель, заготавливается небольшая стойка. В верхней части подставки обязана находиться накладка из резины. Также надо отметить, что магнит заготавливается неодимового типа.
Специалисты советуют устанавливать его на клей. Клеммы для устройства подбираются на 20 Вт. Непосредственно конденсатор устанавливается над накладкой. Стержень используется диаметром в 3.3 см. В нижней части обмотки должно находиться кольцо. Если рассматривать модели на два конденсатора, то стержень разрешается использовать с диаметром 3.5 см. Обмотка должна накручиваться до самого основания излучателя. В нижней части стоки клеится изолента. Магнит устанавливается в середине стойки. Клеммы при этом должны находиться по сторонам.
В последнее время развелось много злых бродячих собак, да и других опасных животных. Как защитить себя от них? Кто-то советует электрошокер, — будем ждать пока собака подбежит на расстояние вытянутой руки? Кто-то ультразвуковой отпугиватель, — но если она глухая? А за ствол, можно вообще сесть. Выход один -ФОТОННЫЙ ИМПУЛЬСНЫЙ ИЗЛУЧАТЕЛЬ.
Все мы иногда фотографируемся и знаем, как неприятно смотреть на срабатывающую вспышку. Причём надо ещё и глаза держать открытыми. А ведь свет бьёт не только в глаза, а рассеивается равномерно по помещению. Теперь представьте что будет, если эта сотня джоуль импульсного излучателя сфокусируется оптической линзой в узкий луч наподобии того, как это делается в DVD-лазере, и в виде мощнейшего импульса шарахнет по глазам объекта нападения!
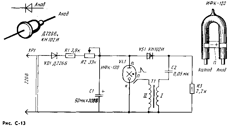
Принцип действияимпульсного излучателя, заключается в фокусировки фотовспышки, линзой диаметром около 50мм с 10-кратным увеличением до тонкоголуча.Саму вспышку, с питанием от батареек, можно собрать по любой известной схеме, например такой:
Описание работы схемыимпульсного излучателя: Интегральная схема типа LM386 представляет собой усилитель звуковой частоты. ИС включена по схеме мультивибратора, генерирующего импульсы частотой около 30 кГц, определяемой номиналами R3 и С1. На выходе (вывод 5) при этом формируются импульсы прямоугольной формы, которые через конденсатор С2 поступают на трансформатор ТТ.
Трансформатор Т1- сетевой понижающий трансформатор на 6-12В. Его низковольтная обмотка используется в схеме в качестве первичной. Размах выходного напряжения на вторичной обмотке при этом равен приблизительно 400 В, что после выпрямления выпрямителем D1, СЗ, С4 обеспечивает на его выходе постоянное напряжение 300 В. После выключения схемы, прежде чем браться руками за конденсаторы СЗ, С4, С5, их предварительно следует разрядить. Постоянное напряжение, поджигающее импульсную лампу ИФК-120, подается через резистор R4 на конденсатор С5.
Высокое напряжение поджига, необходимое для импульсной лампы, формируется катушкой Т2, подключенной к аноду. При подключении энергия, накопленная заряженными до 300 В конденсаторами СЗ и С4, обеспечивает яркую вспышку импульсной лампы FT.
Цепь управления поджигом состоит из элементов С4, С5, D2 R5, SW1 и Т2. При открывании тиристора D2 управляющее напряжение поступает на катушку Т2. Непосредственное подключение конденсатора С5 к катушке с помощью механического ключа привело бы к быстрому прогоранию
Детали: IC1 — усилитель LM386; D1-1N4004; D2-тиристор С106В1 или любой другой; T1- малогабаритный трансформатор 220В/10В; T2-пусковой дроссель (стандартный, от любой советской вспыхи — фил, луч, и т. д.); FT -лампа-вспышка ИФК-120, Е2-486 (или аналогичные); С1-0,003 мкФ; С2-300 мкФ. 15 В; СЗ, С4-470 мкФ, 400 В; С5 — 0,47 мкФ, 400 В; R1 1 кОм; R2-10kOm; R3- 22 кОм; R4 220 кОм; R5-47 кОм.
Как вариант, можно взять и такие схемыимпульсного излучателя с батареечным питанием:


Лампу дляимпульсного излучателя берём дешёвую советскую ИФК-120 с небольшой доработкой. Поверх колбы наматываем провод для лучшего срабатывания.

Настраивать фокусное расстояние линзы можно с помощью простого стробоскопа:

Саму линзу берём от увеличительной десятикратной лупы. ПодключаемИФК-120 к схеме стробоскопа и приближая — удаляя линзу добиваемся фокусировки вспыха светового пятна на стене.Далее закрепляем всё в корпусе от какой-нибудь нерабочей вспышки иимпульсный излучательготов.
Этот серьезный проект показывает, как получить импульс электромагнитной энергии в несколько мегаватт, который может нанести непоправимый вред электронному компьютеризированному и чувствительному к электромагнитным помехам коммуникационному оборудованию. Ядерный взрыв вызывает подобный импульс, для защиты от него электронных устройств необходимо принимать специальные меры. Этот проект требует накопления смертельного количества энергии, и его не следует пытаться реализовать вне специализированной лаборатории. Подобное устройство можно использовать для вывода из строя компьютерных систем управления автомобилем с целью остановки автомобиля в неординарных случаях угона или если за рулем находится пьяный
Рис. 25.1. Лабораторный электромагнитный импульсный генератор
и опасный для окружающих автомобилистов водитель. Электронное оборудование можно протестировать с помощью электронного импульсного генератора на чувствительность к мощным импульсным помехам – к молниям и потенциальному ядерному взрыву (это актуально для военного электронного оборудования).
Проект описан здесь без указания всех деталей, указаны только основные компоненты. Используется дешевый открытый искровой разрядник, но он даст только ограниченные результаты. Для достижения оптимальных результатов необходим газовый или радиоизотопный разрядник, который эффективен для создания помех как при потенциальном ядерном взрыве (рис. 25.1).
Общее описание устройство
Генераторы ударной волны способны вырабатывать сфокусированную акустическую или электромагнитную энергию, которая может разрушать предметы, применяться в медицинских целях, например, для разрушения камней во внутренних органах человека (почках, мочевом пузыре и т.д.). Генератор электромагнитных импульсов может вырабатывать электромагнитную энергию, которая может разрушать чувствительную электронику в компьютерах и микропроцессорном оборудовании. Нестабилизированные индуктивно-емкостные цепи LC могут вырабатывать импульсы в несколько гигаватт за счет использования устройств взрывания провода. Эти импульсы высокой энергии – электромагнитные импульсы (в иностранной технической литературе ЕМР – ElectroMagnetic Pulses) можно использовать для тестирования твердости металла параболических и эллиптических антенн, гудков и других направленных дистанционных воздействий на предметы.
Например, в настоящее время ведутся исследования по разработке системы, которая будет выводить автомобиль из строя во время опасной погони на высоких скоростях за человеком, совершившим противоправное действие, например, угонщиком или пьяным водителем. Секрет заключается в генерации обладающего достаточной энергией импульса для сжигания электронных управляющих процессорных модулей автомобиля. Это гораздо проще выполнить, когда автомобиль покрыт пластиком или оптоволокном, чем когда он покрыт металлом. Экранирование металлом создает дополнительные проблемы исследователю, разрабатывающему практически применимую систему. Можно построить устройство и для этого тяжелого случая, но оно может быть дорогостоящим и оказать вредное воздействие на дружественные устройства, заодно выводя их из строя. Поэтому исследователи находятся в поиске оптимальных решений для мирных и военных целей применения электромагнитных импульсов (ЕМР).
Цель проекта
Цель проекта заключается в генерации пикового импульса энергии для тестирования на прочность электронного оборудования. В частности, данный проект исследует использование подобных устройств для выведения из строя транспортных средств за счет разрушения микросхем компьютера. Мы проведем эксперименты по разрушению цепей электронных устройств с помощью направленной ударной волны.
Внимание! Донный проект использует смертельно опасную электрическую энергию, которая при неправильном контакте может убить человека мгновенно.
Система высокой энергии, которая будет собрана, использует взрывающийся провод, который может создать эффекты, подобные шрапнели. Разряд системы может серьезно повредить электронику близко расположенных компьютеров и другого аналогичного оборудования.
Конденсатор С заряжается от источника тока до напряжения источника питания в течение определенного периода времени. Когда он достигает напряжения, соответствующего определенному уровню запасенной энергии, ему дается возможность быстро разрядиться через индуктивность резонансного LC-конту- ра. Генерируется мощная, недемпфированная волна на собственной частоте резонансного контура и на ее гармониках. Индуктивность L резонансной цепи может состоять из катушки и индуктивности связанного с ней провода, а также собственной индуктивности конденсатора, которая составляет около 20 нГн. Конденсатор цепи является накопителем энергии и также оказывает влияние на резонансную частоту системы.
Излучение энергетического импульса может быть достигнуто посредством проводящей конической секции или металлической структуры в форме рупора. Некоторые экспериментаторы могут использовать полуволновые элементы с питанием, подаваемым на центр катушкой, связанной с катушкой резонансной цепи. Эта полуволновая антенна состоит из двух четвертьволновых секций, настроенных на частоту резонансной схемы. Они представляют собой катушки, намотка которых имеет примерно одинаковую длину с длиной четверти волны. Антенна имеет две радиально направленные части, параллельные длине или ширине антенны. Минимальное излучение происходит в точках, расположенных по оси или на концах, но мы не проверяли на практике этот подход. Например, газоразрядная лампа будет вспыхивать ярче на расстоянии от источника, индицируя мощный направленный импульс электромагнитной энергии.
Наша тестовая импульсная система вырабатывает электромагнитные импульсы в несколько мегаватт (1 МВт широкополосной энергии), которые распространяются с помощью конической секционной антенны, состоящей из параболического рефлектора диаметром 100-800 мм. Расширяющийся металлический рупор 25×25 см также обеспечивает определенную степень воздействия. Специальный

Рис. 25.2. Функциональная схема импульсного электромагнитного генератораПримечание:
Базовая теория работы устройства:
Резонансная схема LCR состоит из указанных на рисунке компонентов. Конденсатор С1 заряжается от зарядного устройства постоянного тока током l c . Напряжение V на С1 опг*а’ ouivwrcs. соотношением:
Искровой разрядник GAP установлен на запуск при напряжении V чуть ниже50000 В. При запуске пиковый ток достигает значения:
di/dt-V/L.
Период отклика схемы является функцией от 0,16 х (LC) 5 . Kj jhj />»–гп ц > затем i ьтэрное гея в индуктивность схемы за VaX, причем пиковое значение тока приводит к взрыву провода и прерывает этотток йог» с{№лстшнно перед тем, как он достигнет пикового значения. Иц’ .^сп*»*»^ энергия (LP) виа*/» – «сдается в виде вчрьва и в jftpcxa цл^хтигггуктосго электромагнитного излучения. Пиковая мощность ипрмоьл*тз1 описанным ниже образом и щ»«**и*гг многие мегаватты!
1. Цикл заряд а: dv=ldt/C.
(Выражает напряжение заряда на конденсаторе в функции времени, где I – постоянный ток.)
2. Накопленная энергия в С как функция от напряжения: £=0,5CV
(Выражает энергию в джоулях при увеличении напряжения.)
3. Время отклика V* цикла пикового тока: 1,57 (LC) 0 – 5 . (Выражает время для первого пика резонансного тока при запуске искрового разрядника.)
4. Пиковый ток вточке V* цикла: V(C/ Ц 05 (Выражает пиковый ток.)
5. Исходный отклик в функции от времени:
Ldi/dt+iR+ 1/С+ 1/CioLidt=0.
(Выражает напряжение как функцию от времени.)
6. Энергия катушки индуктивности в д жоулях: E=0,5U 2 .
7. Отклик, когда схема разомкнута при максимальном токе через L: LcPi/dt 2 +Rdi/dt+it/С=dv/dt.
Из этого выражения видно, что энергия катушки должна направляться куда-либо в течение очень короткого времени, результатом чего является взрывное поле высвобождения энергии Е х В.
Мощный импульс в много мегаватт вд иапазонеулырвныилсчг>;*ттеля. i-M.
конденсатор 0,5 мкФ с малой индуктивностью заряжается за 20 с с помощью устройства ионного заряда, описанного в главе 1 «Антигравитационный проект», и дорабатывается, как показано. Можно достичь более высокой скорости заряда с помощью систем с более высоким током, которые можно получить по специальному заказу для более серьезных исследований через сайт www.amasingl.com.
Радиочастотный импульс высокой энергии можно генерировать также и в случае, где выход импульсного генератора взаимодействует с полноразмерной полуволновой антенной с центральным питанием, настроенной на частоты в диапазоне 1-1,5 МГц. Реальная дальность действия при частоте 1 МГц – более 150 м. Такая дальность действия может быть избыточна для многих экспериментов. Однако это нормально для коэффициента излучения, равного 1, во всех других схемах этот коэффициент меньше 1. Можно уменьшить длину реальных элементов с помощью настроенной четвертьволновой секции, состоящей из 75 м провода, намотанных через интервалы или с использованием двух-трех- метровых трубок из поливинилхлорида PVC. Эта схема вырабатывает импульс низкочастотной энергии.
Пожалуйста, имейте в виду, как это уже указывалось ранее, что импульсный выход этой системы может причинить вред компьютерам и любым приборам с микропроцессорами и другими аналогичными схемами на значительном расстоянии. Всегда будьте осторожны при тестировании и использовании этой системы, она может повредить устройства, которые просто находятся рядом. Описание основных частей, использованных в нашей лабораторной системе, дает рис. 25.2.
Конденсатор
Конденсатор С, используемый для подобных случаев, должен обладать очень низкой собственной индуктивностью и сопротивлением разряда. В то же время этот компонент должен обладать способностью к накоплению достаточной энергии для генерации необходимого импульса высокой энергии заданной частоты. К сожалению, два этих требования вступают в противоречие друг с другом, их трудно выполнить одновременно. Конденсаторы высокой энергии всегда будут обладать большей индуктивностью, чем конденсаторы низкой энергии. Другим важным фактором является использование сравнительного высокого напряжения для генерации сильных токов разряда. Эти значения необходимы для преодоления собственного комплексного импеданса последовательно соединенных индуктивного и резистивного сопротивлений на пути разряда.
В данной системе используется конденсатор 5 мкФ при 50000 В с индуктивностью 0,03 мкГн. Необходимая нам основная частота для схемы низкой энергии составляет 1 МГц. Энергия системы составляет 400 Дж при 40 кВ, что определяется соотношением:
Е = 1/2 CV 2 .
Катушка индуктивности
Вы можете использовать катушку из нескольких витков для экспериментов с низкими частотами с двойной антенной. Размеры определяются формулой индуктивности воздуха:
Рис. 25.7. Установка искрового разрядника для соединения с антенной при работе с низкой частотой
Применение устройство
Данная система предназначена для исследования чувствительности электронного оборудования к электромагнитным импульсам. Систему можно видоизменить для использования в полевых условиях и работы от перезаряжаемых аккумуляторных батарей. Ее энергию можно увеличить до уровня импульсов электромагнитной энергии в несколько килоджоулей, на собственный страх и риск пользователя. Нельзя предпринимать попыток изготовления своих вариантов устройства или использовать данное устройство, если вы не имеете достаточного опыта в использовании импульсных систем высокой энергии.
Импульсы электромагнитной энергии можно сфокусировать или запускать параллельно с помощью параболического отражателя. Экспериментальной мишенью может служить любое электронное оборудование и даже газоразрядная лампа. Вспышка акустической энергии может вызвать звуковую ударную волну или высокое звуковое давление на фокусном расстоянии параболической антенны.
Источники приобретении компонентов и деталей
Устройства заряда высокого напряжения, трансформаторы, конденсаторы, газовые искровые разрядники или радиоизотопные разрядники, импульсные генераторы MARX до 2 MB, генераторы ЕМР можно приобрести через сайт www.amasingl.com .
Содержимое:
Электромагнитный импульс (ЭМИ) – это естественное явление, вызванное резким ускорением частиц (в основном, электронов), которое приводит к возникновению интенсивного всплеска электромагнитной энергии. Повседневными примерами ЭМИ могут служить следующие явления: молния, системы зажигания двигателей внутреннего сгорания и солнечные вспышки. Несмотря на то, что электромагнитный импульс способен вывести из строя электронные устройства, данную технологию можно применить для целенаправленного и безопасного отключения электронных устройств или для обеспечения безопасности персональных и конфиденциальных данных.
Шаги
1Создание элементарного электромагнитного излучателя
- 1Соберите необходимые материалы. Для создания простейшего электромагнитного излучателя вам понадобится одноразовый фотоаппарат, медная проволока, резиновые перчатки, припой, паяльник и железный прут. Все эти предметы можно приобрести в ближайшем строительном магазине.
- Чем толще проволоку вы возьмете для эксперимента, тем мощнее получится итоговый излучатель.
- Если вы не сможете найти железный прут, можете заменить его стержнем из неметаллического материала. Однако обратите внимание, что подобная замена негативно скажется на мощности производимого импульса.
- В ходе работы с электрическими деталями, способными удерживать заряд, или при пропускании электрического тока через объект, мы настоятельно рекомендуем надевать резиновые перчатки, дабы избежать возможного электрического удара.
- создать электромагнитный импульс2Соберите электромагнитную катушку. Электромагнитная катушка – это устройство, которое состоит из двух отдельных, но в то же время взаимосвязанных деталей: проводника и сердечника. В данном случае в качестве сердечника будет выступать железный прут, а в качестве проводника – медная проволока.
- Плотно обмотайте проволоку вокруг сердечника, не оставляя пробелов между витками. Не обматывайте весь провод, оставьте небольшое количество на краях обмотки, чтобы у вас была возможность подсоединить свою катушку к конденсатору.
- создать электромагнитный импульс3Припаяйте концы электромагнитной катушки к конденсатору. Конденсатор, как правило, имеет вид цилиндра с двумя контактами, а найти его можно на любой монтажной плате. В одноразовом фотоаппарате такой конденсатор отвечает за вспышку. Перед отпаиванием конденсатора обязательно вытащите батарейку из фотоаппарата, иначе вас может ударить током.
- Пока вы будете работать с монтажной платой и конденсатором, резиновые перчатки уберегут вас от электрических разрядов.
- Щелкните пару раз фотоаппаратом после извлечения батарейки, чтобы израсходовать накопленный заряд в конденсаторе. Из-за накопленного заряда вас в любой момент может ударить током.
- 4Найдите безопасное место для тестирования своего электромагнитного излучателя. В зависимости от задействованных материалов, эффективный радиус действия вашего ЭМИ будет составлять примерно один метр в любом направлении. Как бы то ни было, любая электроника, попавшая под ЭМИ, будет уничтожена.
- Не забывайте, что ЭМИ воздействует на все без исключения устройства в радиусе поражения, начиная от аппаратов жизнеобеспечения, вроде кардиостимуляторов, и заканчивая мобильными телефонами. Любой ущерб, причиненный этим устройством посредством ЭМИ, может повлечь за собой юридические последствия.
- Заземленная площадка, вроде пня или пластмассового стола, является идеальной поверхностью для тестирования электромагнитного излучателя.
- 5 Так как электромагнитное поле воздействует лишь на электронику, подумайте о приобретении какого-то недорогого устройства в ближайшем магазине электроники. Эксперимент можно считать успешным, если после активации ЭМИ электронное устройство перестанет работать.
- Множество магазинов канцелярских товаров торгуют достаточно недорогими электронными калькуляторами, с помощью которых вы можете проверить эффективность созданного излучателя.
- 6Вставьте батарейку обратно в камеру. Для восстановления заряда необходимо пропустить через конденсатор электричество, которое впоследствии обеспечит вашу электромагнитную катушку током и создаст электромагнитный импульс. Поместите объект для испытаний как можно ближе к ЭМ излучателю.
- Наличие электромагнитного поля, в основном, невозможно определить на глаз. Без тестируемого объекта вы не сможете подтвердить успешное создание ЭМИ.
- создать электромагнитный импульс7Дайте конденсатору зарядиться. Позвольте батарейке снова зарядить конденсатор, отсоединив его от электромагнитной катушки, затем уже в резиновых перчатках или пластиковыми щипцами снова их соедините. Работая голыми руками, вы рискуете получить удар током.
- создать электромагнитный импульс8Включите конденсатор. Активация вспышки на камере высвободит накопленное в конденсаторе электричество, которое при прохождении через катушку создаст электромагнитный импульс.
- Созданное электромагнитное поле будет воздействовать на любую электронику, включая выключенную. Если в качестве испытуемого объекта вы выбрали калькулятор, то после включения конденсатора, и в случае успешного создания ЭМ импульса, калькулятор больше не включится.
2Создание портативного устройства ЭМ излучения
- 1Соберите все необходимое. Создание портативного устройства ЭМИ пройдет более гладко, если при себе у вас будут все необходимые инструменты и компоненты. Вам понадобятся следующие предметы:
- Пальчиковая батарейка
- Соответствующий батарейный отсек
- Медная проволока
- Картонная коробка
- Одноразовая камера (со вспышкой)
- Изолента
- Железный сердечник (желательно цилиндрической формы)
- Резиновые перчатки (рекомендовано)
- Простой выключатель
- Припой и паяльник
- Радиоантенна
- 2Вытащите монтажную плату из фотоаппарата. Внутри одноразового фотоаппарата находится монтажная плата, которая и отвечает за его функционал. Для начала вытащите батарейки, а затем уже и саму плату, не забыв при этом отметить положение конденсатора.
- Работая с фотоаппаратом и конденсатором в резиновых перчатках, вы тем самым обезопасите себя от возможного электрического удара.
- Конденсаторы, как правило, имеют вид цилиндра с двумя контактами, прикрепленными к плате. Это одна из важнейших деталей будущего устройства ЭМИ.
- После того как вы вытащите батарейку, щелкните пару раз фотоаппаратом, чтобы израсходовать накопленный заряд в конденсаторе. Из-за накопленного заряда вас в любой момент может ударить током.
- 3Обмотайте медную проволоку вокруг железного сердечника. Возьмите достаточное количество медной проволоки, чтобы равномерно идущие витки могли полностью покрыть железный сердечник. Также убедитесь, чтобы витки плотно прилегали друг к другу, иначе это негативно скажется на мощности ЭМИ.
- Оставьте небольшое количество провода на краях обмотки. Они нужны, чтобы подсоединить к катушке остальную часть устройства.
- 4Нанесите изоляцию на радиоантенну. Радиоантенна послужит в качестве рукоятки, на которой будут закреплены катушка и плата от фотоаппарата. Оберните основание антенны изолентой, дабы уберечься от удара током.
- 5Закрепите плату на плотном куске картона. Картон послужит в качестве еще одного слоя изоляции, который убережет вас от неприятного электрического разряда. Возьмите плату и изолентой закрепите ее на картоне, но так, чтобы она не закрывала дорожки электропроводящей цепи.
- Закрепите плату лицевой стороной вверх, чтобы конденсатор и его проводящие дорожки не контактировали с картоном.
- На картонной подложке для печатной платы также должно хватить достаточно места для батарейного отсека.
- 6Закрепите электромагнитную катушку на конце радиоантенны. Поскольку для создания ЭМИ электрический ток должен пройти через катушку, неплохо бы добавить второй слой изоляции, поместив небольшой кусочек картона между катушкой и антенной. Возьмите изоленту и закрепите катушку на куске картона.
- 7Припаяйте источник питания. Найдите на плате разъемы для батарейки и соедините их с соответствующими контактами батарейного отсека. После этого можете закрепить все это дело изолентой на свободном участке картонки.
- 8Подсоедините катушку к конденсатору. Необходимо припаять края медной проволоки к электродам вашего конденсатора. Между конденсатором и электромагнитной катушкой также следует установить переключатель, который бы управлял потоком электроэнергии между этими двумя компонентами.
- Во время данного этапа сборки устройства ЭМИ вы должны оставаться в резиновых перчатках. Из-за оставшегося заряда в конденсаторе вас может ударить током.
- 9Прикрепите картонную подложку к антенне. Возьмите изоленту и прочно прикрепите картонную подложку вместе со всеми деталями к радиоантенне. Закрепите ее над основанием антенны, которое вы уже должны были обмотать изолентой.
- 10Найдите подходящий объект для испытаний. Простой и недорогой калькулятор идеально подойдет для тестирования портативного устройства ЭМИ. В зависимости от материалов и оборудования, использованных при конструировании вашего устройства, ЭМ поле будет работать либо в непосредственной близости от катушки, либо покрывать расстояние до одного метра вокруг нее.
- Любое электронное устройство, попавшее в радиус действия ЭМ поля, будет выведено из строя. Убедитесь, что рядом с выбранной тестовой площадкой нет электронных приборов, которым бы вы не хотели навредить. Вся ответственность за поврежденное имущество будет лежать на вас.
- 11Протестируйте свое портативное устройство ЭМИ. Проверьте, чтобы переключатель устройства находился в положении «ВЫКЛ», после чего вставьте батарейки в батарейный отсек на картонной подложке. Держите устройство за изолированное основание антенны (словно протоновый ускоритель из «Охотников за привидениями»), направьте катушку в сторону объекта для испытаний и переключите выключатель в положение «ВКЛ».
- Если вы сомневаетесь в своих знаниях и навыках соединения электронных компонентов, при работе с устройством в качестве дополнительной меры предосторожности наденьте резиновые перчатки.
- В случае успеха эксперимента, тестируемый объект вкупе с другой электроникой, оказавшейся в эффективном диапазоне ЭМ поля, перестанет работать.
- В зависимости от задействованного конденсатора, необходимое напряжение для его зарядки тоже будет разным. Емкость конденсатора в одноразовом фотоаппарате составляет где-то 80-160 мкФ, а напряжение должно быть в пределах 180-330 вольт.
- Размер медной проволоки и длина катушки определят силу и радиус электромагнитного импульса. В целях безопасности прежде чем приступать к созданию большего, более мощного излучателя, начните с небольшого устройства, чтобы проверить эффективность вашей конструкции.
Предупреждения
- Вся ответственность за поврежденное электромагнитным полем имущество будет лежать на вас.
- Работать с электромагнитными импульсами крайне опасно. Существует высокая вероятность поражения электрическим током, а в более редких случаях – взрыва, пожара или повреждения электроники. Перед созданием медной катушки уберите из комнаты или рабочей зоны все электронные приборы. Любые электронные устройства на расстоянии нескольких метров от импульса будут повреждены.
Что вам понадобится
- Медная проволока (ЭМ излучатель)
- Одноразовый фотоаппарат (ЭМ излучатель)
- Железный прут (ЭМ излучатель)
- Припой и паяльник (ЭМ излучатель)
- Пальчиковая батарейка (портативное устройство ЭМИ)
- Батарейный отсек (портативное устройство ЭМИ)
- Медная проволока (портативное устройство ЭМИ)
- Картонная коробка (портативное устройство ЭМИ)
- Одноразовый фотоаппарат (со вспышкой; портативное устройство ЭМИ)
- Изолента (портативное устройство ЭМИ)
- Железный сердечник (желательно цилиндрической формы; портативное устройство ЭМИ)
- Резиновые перчатки (рекомендовано для обоих устройств)
- Простой электрический выключатель (портативное устройство ЭМИ)
- Припой и паяльник (портативное устройство ЭМИ)
- Радиоантенна (портативное устройство ЭМИ)
Вас достала слишком громкая музыка соседей или просто хотите сделать какой-нибудь интересный электротехнический прибор самостоятельно? Тогда можете попробовать собрать простой и компактный генератор электромагнитных импульсов, который способен выводить из строя электронные устройства поблизости.
Генератор ЭМИ, представляет собой устройство, способное генерировать кратковременное электромагнитное возмущение, которое излучается наружу от своего эпицентра, нарушая при этом работу электронных приборов. Некоторые всплески ЭМИ встречаются в природе, например, в виде электростатического разряда. Также существуют искусственные всплески ЭМИ, к таким можно отнести ядерный электромагнитный импульс.
В данном материале будет показано, как собрать элементарный генератор ЭМИ, используя обычно доступные элементы: паяльник, припой, одноразовый фотоаппарат, кнопка-переключатель, изолированный толстый медный кабель, проволока с эмалированным покрытием, и сильноточный фиксируемый переключатель. Представленный генератор будет не слишком сильным по мощности, поэтому у него может не получиться вывести из строя серьезную технику, но на простые электроприборы он повлиять в состоянии, поэтому данный проект следует рассматривать как учебный для новичков в электротехнике.
Итак, во-первых, нужно взять одноразовый фотоаппарат, например, Kodak. Далее нужно вскрыть его. Откройте корпус и найдите большой электролитический конденсатор. Делайте это в резиновых диэлектрических перчатках, чтобы не получить удар током при разряде конденсатора. При полной зарядке на нем может быть до 330 В. Проверьте вольтметром напряжение на нем. Если заряд еще имеется, то снимите его, замкнув выводы конденсатора отверткой. Будьте осторожны, при замыкании появится вспышка с характерным хлопком. Разрядив конденсатор, вытащите печатную плату, на которой он установлен, и найдите маленькую кнопку включения/выключения. Отпаяйте ее, а на ее место запаяйте свою кнопку-переключатель.

Припаяйте два изолированных медных кабеля к двум контактам конденсатора. Один конец этого кабеля подключите к сильноточному переключателю. Другой конец оставьте пока свободным.

Теперь нужно намотать нагрузочную катушку. Оберните проволоку с эмаль-покрытием от 7 до 15 раз вокруг круглого объекта диаметром 5 сантиметров. Сформировав катушку, оберните ее клейкой лентой для большей безопасности при ее эксплуатации, но оставьте два выступающих провода для подключения к клеммам. Используйте наждачную бумагу или острое лезвие, чтобы удалить эмалевое покрытие с концов проволоки. Один конец соедините с выводом конденсатора, а другой с сильноточным переключателем.

Теперь можно сказать, что простейший генератор электромагнитных импульсов готов. Чтобы зарядить его, просто подключите батарею к соответствующим контактам на печатной плате с конденсатором. Поднесите к катушке какое-нибудь портативное электронное устройство, которое не жалко, и нажмите переключатель.

Помните, что не стоит удерживать нажатой кнопку заряда при генерации ЭМИ, иначе вы можете повредить цепь.
