Мне давно хотелось иметь складывающуюся в небольшой пакет легкую лодку, в которой было бы удобно ловить рыбу или путешествовать, добираясь до самых далеких и заманчивых уголков Карельского перешейка, в которую можно было бы сесть вдвоем, да еще уложить пару рюкзаков. Из того, что я видел в магазинах, одни не подходили мне как сугубо одноместные (55-рублевая «охотничья», например), другие — оказывались слишком тяжелыми и не приспособленными для перевозки в том же автобусе. Как правило, все они были тесными, неудобными для гребли, снабженными короткими веслами, под которыми никуда не уйдешь даже в слабый ветер.
В конце концов, родилась идея постройки складной двухместной лодки, отвечавшей всем моим требованиям, своими силами. Я сделал такую лодку, и вот уже шесть лет плаваю на ней. Встречавшиеся на пути туристы и любители рыбалки не раз спрашивали, где я ее купил? И чаще всего не верили, когда я объяснял, что изготовить такую лодку самому не так уж сложно. Вот я и решил при помощи сборника рассказать об этом поподробнее и сделать достоянием всех желающих. (А может быть, какие-либо заводы тоже заинтересуются моей лодкой?)
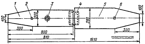
Длина лодки — 3 м, габаритная ширина — около 1,1 м. При собственном весе лодки в сборе менее 20 кг грузоподъемность ее более чем достаточна для выходов вдвоем со всем снаряжением. Даже при нагрузке 400 кг на ней можно спокойно продолжать плавание, хотя при этом она и садится в воду до половины высоты борта.
Под двухметровыми распашными веслами лодка имеет хороший ход — 8-9 км/ч, легко управляется; на ней можно свободно делать большие переходы. Ограничения «по мореходности» такие же, как и для любой другой весельной «двойки». Однажды мне довелось испытать свою складную лодку на настоящей морской волне — в Белом море. В свежую погоду, по 80-сантиметровой волне мы благополучно добрались до места.
Удобна лодка и на рыбалке: легко идет по тростнику, не парусит; достаточно остойчива — не переворачивается, если встать во весь рост или даже один человек сядет на кромку борта.
Собирается лодка за 15 минут, столько же времени уходит и на разборку. Полностью сложенная лодка превращается в пакет размерами 1X0,45X0,2 м, укладываемый на легкую трехколесную складную тележку (колеса складываются, как у самолета). С таким пакетом я могу сесть в любой транспорт, дома места он почти не занимает.
Теперь о том, как сделать такую лодку. Собирал я ее зимними вечерами, не торопясь, затрачивая по два-три часа каждый день. Конечно, теперь, имея опыт и не тратя время на размышления, я мог бы сделать ее гораздо быстрее.
Основным материалом для 12 плоских деталей корпуса служат обрезки дюраля. Я использовал дюраль толщиной 0,5 мм и считаю, что такой толщины вполне достаточно; применение более толстого листа (0,8-1 мм) утяжелит лодку, хотя, естественно, упростит конструкцию и сделает ее более надежной. Для разметки сопрягающихся кромок деталей 3-9, 4-10, 6-12, 5-11 сделайте картонный шаблон (достаточно одного шаблона, так как нос и корма лодки одинаковы, симметричны).
(условно показаны килевые угольники, ставящиеся снаружи)
увеличить
1-12 — дюралевые детали; 13-15 — килевой угольник, дюраль 30X30; 16 — прорезиненная ткань; 17 — стыковой коротыш 30X30; L = 200, 2 шт.; 18 — шайба-подкладка в районе отверстия под болт, δ = 1.
Очевидно, это сопряжение можно было бы выполнить и по прямой, но лучше, если это будет кривая с серповидностью (стрелкой прогиба) около 50 мм. Если бы мне пришлось изготовлять вторую такую лодку, то в носу я попытался бы сделать килеватость, чтобы не ударяла встречная волна, а корму сделал бы пошире и транцевой — появилось бы больше места и можно было бы повесить моторчик «Салют».
В качестве водонепроницаемых гибких «шарниров», соединяющих дюралевые детали, используются 50- и 100-миллиметровые полосы из любой надежной прорезиненной ткани; я распустил на З-миллиметровые слои приводной ремень толщиной 9 мм. Поперечные более широкие полосы сделаны цельными, продольные — разрезными. В месте пересечения стык выполнен на клее Б88 с «заусовкой» на длине 25 мм. На эти соединения я затратил много времени, зато за всё шесть лет пользоваться ремонтной аптечкой (всегда при мне куски ремня и клеи) не приходилось.
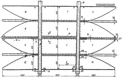
а — фиксация бортовых ветвей шпангоута и поперечных распорок; б — крепление штевневых поперечин; в — опора банок.
1 — пайол; 2, 3 — продольные штевневые распорки; 4, 5 — складные «привальные брусья», дюралевая трубка Ø18 со стыковым замком-шарниром и подуключиной; 6 — центральный шпангоут; 7 — носовая поперечная распорка; 8 — носовая банка, фанера 1000X180X6; 9 — кормовая поперечная распорка; 10 — кормовая банка, фанера 1000Х180X6; подвесить на трех-четырех петлях к поперечине; 11, 12 — штевневая поперечина, угольник 30X30 L = 100 мм; 13 — угольник 15X25, на который опирается концами банка; 6 шт.; 14 — фиксатор положения шпангоута по длине лодки, планка 20x40x2, 6 шт.
Полосы наложены на дюраль с наружной стороны «обшивки», приклеены к нему тем же клеем Б88 и приклепаны алюминиевыми заклепками d = 3 однорядным швом с шагом 15 мм. В оконечностях под головки, расклепываемые всюду с внутренней стороны обшивки, подложены шайбы. По килевому сгибу в ДП (он сделан только для того, чтобы уменьшить габариты пакета) на дет. 1 с одного борта и на дет. 4-6 с другого одновременно с полосой ткани приклепываются три детали (13, 14, 15) килевого угольника. При раскладывании обшивки — сборке лодки концы этих деталей жестко соединяются двумя 200-миллиметровыми стыковыми накладками 17 (отрезки угольника 30X30) на болтах М8 — по два на сторону от стыка.
Жесткость корпуса собранной лодки, кроме этого наружного киля, обеспечивают (см. схему «набора»): — фанерный пайол, в торцы которого упираются своими вилками продольные штевневые распорки; — центральный шпангоут; — «привальные брусья» по верхней кромке борта; — носовая поперечная распорка; — носовая банка для гребца; — кормовая поперечная распорка с кормовой банкой.
Фанерный пайол, собранный из двух деталей с гибким шарниром посредине, укладывается на дно свободно. По длине его положение фиксируется продольными распорками, подогнанными по месту. В средней части лодки на его ставится средний шпангоут.
1, 5 — фанерные листы δ=6; 2, 6 — прямоугольные вырезы — гнезда для фиксаций положения нижнего конца откидной стойки под поперечными распорками; 3 — дюралевое гнездо (башмак) с фигурным пазом для фиксации нижнего конца стойки под носовой банкой; положение банки по длине лодки выбирается в зависимости от роста гребца; 4 — мягкий шарнир (ремень, резина) для складывания пайола.
Днищевая ветвь шпангоута делается из дюралевой трубки, бортовые ветви и подкосы — из дюралевого угольника 25X25. Соединение ветвей на скулах — шарнирное (заклепка) для возможности складывания. Подкосы одним концом крепятся шарнирно, а другим — на болте с гайкой-барашком. Для крепления шпангоута к обшивке в верхней части бортовой ветви сверлится одно отверстие диаметром 8 мм и срезается свободная полка; конец шпангоута оказывается между обшивкой и трубкой привального бруса.ъ
а — центральный шпангоут; б — поперечная распорка; в — крепление «привального бруса» и концов бортовых ветвей шпангоутов; г — продольная штевневая распорка.
1 — дюралевый угольник 25X25 или 30X30; 2 — болт М8; 3 — дюралевая трубка Ø18-20 мм; 4 — обшивка.
На носовой и кормовой поперечных распорках вертикальные (бортовые) угольники и стойки — пиллерсы в ДП — также закреплены шарнирно. При сборке лодки весь набор собирается в жесткую систему десятью пропущенными через привальный брус болтами М8 с гайками-барашками. По два таких же болта крепят к обшивке штевневые поперечины, шарнирно присоединенные к концам продольных распорок.
Чтобы сделать привальные брусья складывающимися, использованы простейшие замки-петли. Один край согнутой по трубке петли крепится к одной трубке намертво, второй — шарнирно, чтобы другая трубка свободно поворачивалась вокруг оси. По центру петли имеется отверстие под болт М8, который скрепляет трубку с бортом (гайка накладывается с внешней стороны корпуса). Этот болт к петле надо приварить.
1 — заклепка; 2 — ось шарнира, вокруг которой откидывается вверх одна из трубок; 3 — болт М8 для крепления к обшивке.
Банки свободно ложатся сверху на приклепанные к бортам опоры-угольники; чтобы зафиксировать носовую банку от сдвига вдоль лодки, в торцах делаются пазы — вырезы на толщину полки. Под носовой банкой ставится трубчатый пиллерс с фиксаторами, при развороте трубки входящими в пазы верхнего (на банке) и нижнего (на пайоле) башмаков. Можно такой же пиллерс поставить и под кормовой банкой.

К одной из трубок каждого привального бруса (не ближе 100 мм от слома) приклепывается подуключина.
Весла — композитные. Само весло деревянное (диаметр веретена 35 мм), лопасть сделана из дюраля толщиной 1 мм с тремя ребрами жесткости. По середине длины весло складывается благодаря втулочному соединению; при сборке для фиксации соединения навинчивается накидная гайка.
1 — лопасть; 2 — скобы крепления к веретену; 3 — две части веретена; 4, 5, 6 — детали соединения: втулки, закрепленные наконцах веретена, и свободно надетая накидная гайка; 7 — уключина.
Л. К. Пресслер, «КиЯ», 1976 г.
Лодка круто расширяет возможности рыболова! Это общепризнанный факт, и тут мы долгих диспутов устраивать не будем. Другой вопрос, ? Понятно, что, в зависимости от условий, будут актуальны лодки разных конструкций. Также, можно купить лодку, а можно сделать самостоятельно. О том, какие бывают самодельные лодки, о их преимущества и недостатках, о целесообразности самостоятельного изготовления рыбацкой лодки – в этом посте.
Промышленные лодки бывают: надувные (резиновые, ПВХ) и жесткие, как правило, нескладные (из пластика, дерева, дюралюминия). А что же самодельные лодки?
Сделать лодку самому – дело непростое. Занимаются самостоятельным лодкостроением, если упорно нет денег; если это отдаленный край и купить негде; если руки так и чешутся что-то сделать, ну, например, лодку… Во всех остальных ситуациях, проще просто купить подходящую лодку. Небольшую надувную – для малых прудов и озер; среднюю надувную для средних озер и рек; жесткую пластиковую или целый катер, если есть на чем возить и ловить планируется на больших просторах реки, водохранилища или моря.
Я видел несколько конструкций самодельных лодок, о них и расскажу.
1. Жесткая самодельная лодка из фанеры и древесины. Это небольшие лодки, как правило, для ловли на небольших прудах и озерах. Одно- полутора-местные (если делать больше – будет слишком тяжелой). Контуры достаточно прямые. Такую лодку возят на “короне”, верхнем багажнике авто.

Каркас и обшивка лодки собирается на саморезах. Наружную поверхность, борта и дно олифят, грунтуют, красят.
Фанерная лодка может быть выполнена в весьма разнообразных формах. Топорные прямоугольные формы можно, при наличии навыков, сделать более плавными, лодочными.
Показанную на чертеже нескладную деревянную лодку можно выполнить и складной, с дном из прорезиненной ткани. Борта жесткие, мягкое дно. Все поперечные распорки сделать съемными. Выглядеть это будет, примерно, так.

Понятно, что такая лодка будет компактнее, и при необходимости ее можно будет сложить.
2. Самодельная лодка из дюралюминия. В принципе, то же самое, только корпус лодки выполняют из листового дюраля. Стыки свариваются аргонной сваркой.
3. Самая интересная, на мой взгляд – складная дюралюминиевая лодка. Такой пользуется один, живущий по соседству, спиннингист.

Всего 6 дюралевых деталей: дно – 2 детали; каждый борт — по 2 детали. Элементы крепятся посредством эластичной прочно прорезиненной ткани. Ткань к дюралю крепится рядом заклепок, через накладку.

1 – деталь борт (дно); 2 – полоска прорезиненной ткани; 3 – дюралевая накладка; 4 – заклепки.
Лодку мой сосед разбирает не полностью. Он только убирает распорки и складывает борта внутрь. При желании, можно еще и поперек согнуть конструкцию. А так, он укладывает лодку на верхний багажник авто и стягивает резинками. Выходит довольно компактно.
Поперечные распорки такой лодки представляют собой: жесткое сиденье с подушкой и две деревянные распорки, концы которых защищены отрезками алюминиевых трубочек, которые вставляются в специальные отверстия на внутренних сторонах бортов. Перед рыбалкой распорки и сиденье вставляются на свои места, обеспечивая жесткость конструкции.
Такая самодельная лодка удобна, потому что, дно жесткое – сидеть хорошо. Борта не боятся крючков и коряг… Из недостатков можно назвать только некоторую неустойчивость. Т.е. надувную лодку перевернуть крайне сложно, а даже если черпнул – она останется наплаву. В такой дюральке надо вести себя осмотрительно, не допускать резких маневров. В прочем, мой сосед спиннингует с такой лодки много лет и утверждает, что она удобнее любой надувной. Я с ним во многом солидарен.
К тому же, такая лодка собирается быстрее надувной. Тут ничего не надо качать.
Наверное, каждый любитель рыбалки хотя бы раз подумывал над тем, как сделать самодельную лодку. Дело это непростое, но все же изготовить такое плавсредство реально.
Причем не обязательно быть инженером, все, что от вас требуется, — и несколько часов свободного времени. А о том, как делаются самодельные лодки из фанеры, узнаете из нашей сегодняшней статьи.
Сложности изготовления
Действительно ли сложно сделать такую конструкцию при наличии минимального набора инструментов? Как показывает практика, даже при такой экипировке самодельная надувная лодка (или же фанерная) делается легко за 3-4 часа. Ввиду того, что на выполнение всех этих работ требуется потратить минимум времени, делать лодку можно хоть под открытым небом. Ну а в случае перемены погоды ее всегда можно накрыть брезентом или куском полиэтиленовой пленки.
Чем хороши
Во-первых, фанера — это легкий, прочный и достаточно теплый материал. Убить такую лодку практически невозможно, да и весит она не слишком много. Во-вторых, в отличие от резиновых аналогов пространства в фанерной лодке хватает на несколько человек (при этом внутри, меж сидениями, можно уместить все необходимые рыболовные снасти). В магазинных же вариантах свободного места катастрофически не хватает.

В-третьих, находясь в деревянной лодке, вовсе не испытываешь дискомфорта.
Подготовка материалов
Основным материалом, из которого изготовляются самодельные лодки, является фанера. Трудностей с ее поиском на рынке никаких нет. Фанера — это, пожалуй, наиболее доступный и дешевый материал для таких работ. Да и работать с ней очень удобно.
Приступаем к делу
Прежде всего хотелось бы отметить, что любая работа, связанная с самостоятельным изготовлением какого-либо средства (будь то трактор или еще что-то, неважно), должна выполняться четко по заданной схеме. В данном случае у вас на руках должны быть чертежи самодельных лодок. В некоторых случаях чертежи можно заменить эскизным рисунком.

Итак, как делаются Для сборки корпуса вам необходимо будет приготовить сухие доски толщиной 2,5 сантиметра и 6-милиметровый лист фанеры. Ширина досок для кормы и бортов должна составлять 30,5 сантиметров. Это наиболее оптимальные размеры для рыбацкой лодки. Все остальные элементы, которые есть внутри конструкции (сиденья и распорки), изготовляются из досок шириной 2,5 сантиметра. При этом длина данных деталей составляет 86,4 сантиметра. Необходимо учитывать, что размеры всех этих элементов должны быть точно выдержаны, так как все они крепятся к корпусу лодки только саморезами.
Изготовление всех деталей и элементов данной конструкции абсолютно не вызывает никаких сложностей и затруднений. Это объясняется их простой геометрической формой.
В ходе выполнения работ особое внимание уделите подгонке стыкуемых поверхностей и оборке лодки. Все стыкуемые кромки должны быть тщательно подогнаны и иметь по всей длине минимальные зазоры. В качестве крепежных элементов используются либо луженые, либо оцинкованные саморезы. Что же касается размеров данных крепежей, то в зависимости от места применения они могут быть следующими:

Днище же лодки изготавливается из листа фанеры толщиной 6 миллиметров. Но, поскольку эта часть плавательного средства будет постоянно подвергаться воздействию воды, для водонепроницаемости лодки стыки корпуса и днище дополнительно обработайте клеем типа «ВИАМ-Б/3» и закрепите шурупами по всему периметру. Если такого средства нет («ВИАМ-Б/3»), в качестве альтернативы вполне подойдет масляная краска. Она хоть и не обладает хорошими клеящими свойствами и характеристиками, однако дает прочное и водонепроницаемое покрытие. Стоит отметить, что расстояние между саморезами должно составлять порядка 4 сантиметров. Наружные швы следует тщательно проклеить полотном или перкалью при помощи средства «АК-20». Для того чтобы не провалить дно лодки, между распорками устанавливается реечная решетка (сечение реек — 5х2 сантиметра).

Полученную жидкость следует разводить чистой олифой. При этом расчет делается на то, чтобы лодку можно было покрасить еще 2-3 раза. По своим свойствам жидкая краска лучше, она легче растекается, а потому дает более прочное и ровное покрытие. При нанесении данного средства на лодку используются широкие мягкие кисти-флейцы.
Некоторые энтузиасты используют нитрокраски, основываясь на их высококачественном покрытии. Однако мы не рекомендуем применять их для подобных лодок, так как они не обеспечивают необходимой долговечности древесине (соответственно, конструкция с каждым годом становится все менее прочной и непригодной для пользования).
Важные моменты
Если изготавливаются самодельные моторные лодки, то дополнительно делается чертеж специальных креплений для электрического либо бензинового двигателя. Однако более простым и дешевым вариантом будет использование обычных весел. Они зачастую делаются из 35-милиметровой березовой доски. При этом на конце веретена устанавливается шип с ручкой, а на кромку лопасти наносятся латунные накладки. Далее весло грунтуется и красится.

Ну и напоследок немного статистики. Как показывает практика, средний срок службы фанерных лодок составляет порядка 15-20 лет. Такой живучестью не могут похвастаться ни пластиковые, ни даже резиновые их конкуренты.
Несмотря на обилие в профильных магазинах рыбацких и туристических лодок самых разных форм и размеров, многие все же интересуются, как сделать самодельную лодку из фанеры. Главная причина подобного интереса заключается, пожалуй, в неистребимой тяге наших соотечественников к созидательному труду.
Пускай купить сегодня можно все, что угодно, но в самодельной шлюпке или швертботе, сделанных по чертежам чуть ли не из журнала «Рыболов», есть какое-то непередаваемое очарование.

В статье мы приведем несколько советов, используя которые, вы сможете довольно быстро научиться делать лодки — самоделки из фанеры.
Материалы и инструменты
Не так давно самодельные мини лодки из фанеры были весьма популярны. Это дало возможность отработать методики по их изготовлению, а также определиться с наиболее подходящими материалами.
Конечно, сегодня перечень доступных лаков, пропиток и клеев для фанеры существенно шире, чем был даже десять лет назад – но для изготовления маломерного плавсредства своими руками нам ничего сложного не понадобится:
- Фанера – самый главный компонент. Для изготовления лодок чаще всего используются листы из проклеенного натурального березового шпона толщиной около 5 мм. Отдельные детали, такие как шпангоуты или киль, вырезают из более толстого (10 – 15 мм) материала.
Обратите внимание! Чтобы обеспечить бортам достаточную надежность, для обшивки следует использовать исключительно качественную фанеру, без трещин, расслоений, сучков и т.д. Конечно, цена материала первого или второго сорта будет выше, но зато вы будете уверены в безопасности вашей лодки.

- Древесина применяется для установки внутренних распорок, оформления бортов, сидений и т.д. Желательно использовать обрезную оструганную доску из легких пород дерева.
- Шовный материал задействуется для соединения отдельных деталей обшивки в единое целое. Швы можно оформлять с помощью достаточно тонкой и гибкой проволоки, пластиковых хомутов, толстой капроновой лески и т.д.
- Клей нужен, чтобы обеспечить швам должную герметичность. На сегодняшний день мастера практически отказались от натуральных составов на основе казеина, и отдают предпочтение современным полимерным смолам.
Кроме этого нам будут нужны специальные лаки и пропитки, защищающие древесину от набухания и гниения. Также стоит запастись стеклотканью или аналогичным материалом для проклейки всех швов. В качестве альтернативы стеклоткани можно использовать стеклопластик – тогда им будет оклеено все днище и борта.
Ну, и не нужно забывать о краске – ведь мы же хотим, чтобы наше судно было красивым!
Что касается инструментов, то набор будет практически стандартным:
- Пила по дереву.
- Электролобзик с набором полотен разной длины.
- Шлифовальная машинка.
- Ручной инструмент (молоток, пассатижи, стамески и т.д.)
- Струбцины для зажима фанеры при склеивании.
- Кисти для пропитки, лакировки и .
Делаем лодку
Чертежи и планировка
Прежде чем приступить к работе, определяемся, какое именно судно нам нужно. На сегодняшний день в сети можно найти самые разные чертежи самодельных лодок из фанеры, так что ни в постройке плоскодонки для рыбалки, ни в сборке туристической байдарки ничего невозможного нет. 
Если же ни один из найденных чертежей нас не устраивает, можно заняться проектировкой самостоятельно.
Правда, в этом случае от вас потребуются определенные навыки для расчета грузоподъемности, а то лодка может получиться исключительно декоративной.
- Изучив доступные проекты самодельных лодок из фанеры, или изготовив собственный, переносим на бумагу контуры основных деталей.
- Используя бумажные шаблоны, на листах фанеры рисуем линии, по которым будет проводиться выпиливание шпангоутов и листов для обшивки.
- Если фабричная длина вас не устраивает (а так происходит в 99% случаев), то необходимо провести их сращивание. Для этого торцы фанеры стесываем под острым углом таким образом, чтобы длина получившегося скоса составляла 7-10 толщин самого листа.

- Приложив скошенные части друг к другу, промазываем их клеем и зажимаем струбцинами. Такая методика носит название соединения «на ус».
- Параллельно заготавливаем деревянные брусья, из которых будет делаться каркас нашей будущей лодки.
Совет! Чтобы облегчить работу над проектом, можно собрать специальные козлы из брусьев сечением 50х50 мм. На этих козлах будет гораздо удобнее размещать все детали в процессе соединения, особенно если вы работаете без помощников.

Сборка корпуса
Когда все готово, начинаем работу:
- Используя пилу по дереву или электролобзик, . Отступ от проектного размера не должен составлять больше 1 мм, иначе борта при сшивке «не сойдутся».
- Транцевые части (задний борт) и шпангоуты склеиваем для получения нужной толщины и прочности. Клееные детали будут несколько тяжеловаты, но это не страшно!
- Если планируется установка лодочного мотора, то транец стоит дополнительно проклеить стеклотканью и усилить доской из дерева твердых пород.

Совет! Для повышения прочности соединения шпангоуты и транцы можно дополнительно зафиксировать саморезами. При этом длина саморезов должна быть такой, чтобы острие не прошивало деталь насквозь.
- Устанавливаем транец на предварительно сделанные козлы и начинаем крепить к нему днище и борта, сводя их на носу друг с другом.
- Детали обшивки крепим либо с помощью шовного материала (если используется не очень толстая фанера), либо исключительно на клей, стесывая край фанеры под углом.

- На данном этапе очень важно, чтобы все элементы сошлись по размерам, поскольку для уменьшения щели придется разбирать всю конструкцию и частично подрезать шпангоуты.
После «черновой сборки» можно приступать к проклейке.
Клеевые работы

Инструкция по проклейке и герметизации нашего судна имеет следующий вид:
- Готовим смесь из эпоксидной смолы и аэросила (двуокись кремния). Компоненты смешиваем в промоции 1:1 с использованием насадки на дрель. Оптимальная консистенция смеси — как у густой сметаны.
- Углы между днищем, бортами и транцем усиливаем с помощью деревянных галтелей – небольших уголков, обеспечивающих жесткость соединения.
- Полосы из стеклоткани и стеклопластика наклеиваем на все швы изнутри, тщательно промазывая стыки эпоксидно-аэросильным составом.
Обратите внимание! Поскольку большинство клеевых составов содержат летучие токсины, все лакокрасочные работы следует выполнять с применением средств защиты для органов дыхания!
- После высыхания клея устанавливаем шпангоуты на выбранные места.
- Для фиксации шпангоутов используем тот же клей. Если габариты судна достаточно велики, то с целью усиления конструкции шпангоуты следует дополнительно зафиксировать на дне и бортах полосами стеклоткани внахлест.

- Укладываем настил на днище, крепим уключины, сидения и другие детали, предусмотренные конструкцией.
- Если в лодке планируется обустроить кокпит (закрытое пространство в носовой части), устанавливаем крышку, фиксируя ее на бортах и шпангоутах.
Дождавшись, пока вся конструкция просохнет, снимаем лодку с козлов, переворачиваем ее и шлифуем наружную поверхность. Затем обрабатываем эпоксидной смесью швы и проклеиваем днище стеклотканью. 
Окраска
На завершающем этапе нам необходимо обеспечить нашей лодке защиту от влаги и придать ей привлекательный вешний вид:
- Вначале тщательно обезжириваем все детали.
- Затем обрабатываем древесину пропиткой. Здесь вполне подойдет состав для морских или речных судов от «Tikkurila».
- Шпатлюем все плоскости, маскируя щели и неровности, а потом обрабатываем специальной грунтовкой.
- Красить самодельные фанерные лодки можно практически любой краской, но если вы хотите обеспечить судну долговечность, то лучше использовать специальные пигментные смеси, предназначенные для обработки деревянных судов.

- Средний расход краски составляет 1 – 1,5 л/м 2 . Наносить ее лучше всего с помощью кисти, но допускается и использование краскопульта.
Вывод

Самодельная лодка из фанеры, изготовленная по данной технологии, будет вполне пригодна для выездов на рыбалку, семейных прогулок и т.д. Конечно, в открытое море выходить в ней не стоит, но как показывает практика, для больших рек и озер нашей страны такая конструкция является вполне надежной. В представленном видео в этой статье вы найдете дополнительную информацию по данной теме.
Похожие материалы

В специализированных магазинах можно найти достаточно большое количество лодок разных форм и размеров для туризма и ловли рыбы. Несмотря на это многих интересует самодельная лодка из фанеры.
Преимущества лодки из фанерных листов:
- Небольшой вес конструкции. Следует знать, что клееный шпон весит намного меньше, чем сплошной массив дерева.
- Устойчивость конструкции. Лодка монтируется из цельных фанерных кусков и имеет четкие геометрические пропорции.
- Невысокая стоимость, которая состоит из стоимости фанерных листов, досок, клеящей смеси и грунтовочных составов, которыми обрабатываются фанерные лодки.
Любой человек, который имеет некоторые навыки в столярном мастерстве, сможет изготовить подобную лодку приблизительно за 1 день.
Инструменты и материалы
Сегодня существует огромное количество различных лаков, пропиток и клеящих смесей для фанеры. Каждый элемент имеет свои преимущества и недостатки.Чтобы изготовить лодку, не нужно иметь какие-либо особые инструменты и материалы. Будут нужны следующие элементы:

- Фанерные листы. Для производства лодок в большинстве случаев используются листы из проклеенного шпона березы толщиной в 5 мм. Шпангоуты и киль вырезаются из толстой фанеры (12-15 мм).
- Древесина. Используется для монтажа внутренних распорок, оформления бортиков, сидений и других элементов. Рекомендуется приобрести обрезные доски из легких пород дерева. Чаще всего в продаже встречаются ель и сосна. Следует знать, что ель белее сосны и имеет большую водостойкость, потому ее рекомендуется использовать для обшивки. Однако не стоит забывать, что доски ели могут раскалываться в процессе забивки гвоздей.
- Шовный материал используется для скрепления отдельных элементов обшивки в единую конструкцию. Швы могут быть оформлены при помощи тонкой и гибкой проволоки, хомутов из пластика, капроновой лески большой толщины и других элементов.
- Клеящая смесь. Используется для обеспечения необходимой герметичности швам. Сегодня натуральные составы на казеиновой основе практически не используются. В большинстве случаев мастера применяют полимерные смолы.
- Специальные лаки и пропитки, которые способны защитить древесину от разрушения.
- Стеклоткань или другой материал для защиты швов.
- Водостойкая краска.
Понадобятся определенные геометрические параметры досок. Ширина элементов должна составлять 30 см, а толщина – 2,5 см. Для кормы и бортиков нужны доски длиной в 86,4 см.
Чтобы сделать надежные борты, для обшивки нужно использовать только качественные фанерные листы, которые не имеют трещин, сучков и других дефектов.Цена материалов лучших сортов выше, но только в таком случае можно быть уверенным в безопасности изготавливаемой лодки.
Понадобятся следующие инструменты:

- пила для работы с деревом;
- электрический лобзик с набором полотен различной длины;
- машинка для шлифовки;
- ручной инструмент;
- струбцины для фиксирования фанерных листов в процессе склеивания;
- несколько кисточек для пропитки, лакировки и окраски.
Вернуться к оглавлению
Процесс изготовления
Вернуться к оглавлению
Составление чертежа
Прежде всего нужно определиться с тем, какое судно нужно изготовить. Сегодня существует большое количество различных чертежей самодельных лодок из фанеры. Можно изготовить, к примеру, лодку с плоским дном для рыбалки или судно для туризма.
Если существующие чертежи не подходят, то можно спроектировать собственную схему. Чтобы самодельная лодка не получилась исключительно декоративной, нужно произвести расчет грузоподъемности.
Чтобы составить собственную схему лодки, следует первым делом изучить существующие проекты самодельных лодок из фанеры. Надо перенести на бумагу контуры главных элементов. На фанерных листах нужно нарисовать линии, по которым будет производиться выпиливание шпангоутов и обшивочных листов. Для этого рекомендуется использовать изготовленный бумажный шаблон.
Если длина приобретенных листов фанеры не подходит, то их нужно срастить. Для этого торцевые части фанеры надо стесать под острым углом так, чтобы длина образовавшегося откоса составила 8-10 толщин самого листа. Далее понадобится промазать скошенные части клеящей смесью и зажать струбцинами. Параллельно следует заготовить деревянные бруски, из которых будет изготавливаться каркас лодки.
На подобных козлах намного удобнее располагать все элементы во время скрепления, особенно если строительство самодельных лодок из фанеры производится без помощников.
Вернуться к оглавлению
Корпус лодки

Каркас лодки изготавливают из сосновых реек.
- С помощью использования пилы по дереву или электрического лобзика нужно вырезать детали по шаблонам из досок, брусков и фанерных листов. Отступ от проектных размеров не должен превышать 1 мм, иначе бортики не смогут сойтись в процессе сшивки.
- Задний бортик и шпангоуты нужно склеить для того, чтобы получить необходимую толщину и прочность. Склеенные элементы имеют большой вес, но это никак не повлияет на качество конструкции.
- Чтобы повысить прочность соединений, шпангоуты и транцы рекомендуется дополнительно закрепить саморезами. Длина этих крепежных элементов должна быть такой, чтобы острие не прошило заготовку насквозь. Саморезы должны быть оцинкованными или луженными. Рекомендуется использовать шурупы длиной 18х3 мм или 25х3 мм. Для закрепления сидений, бортиков и корма подходят саморезы 60х4 мм и 60х5 мм.
- Устанавливается транец на изготовленные козлы.
- После этого к транцу нужно закрепить днище и бортики, сводя их на носу друг с другом.
- Если используется фанера не слишком большой толщины, то обшивочные элементы закрепляются с помощью шовного материала. Эти элементы можно закрепить и при помощи использования клеящей смеси. В последнем случае нужно стесать крайние части фанеры под углом.
- Все детали обязательно должны сойтись по размерам. Следует знать, что для уменьшения зазора надо разбирать все изделие и частично подрезать шпангоуты.
- Если планируется установить лодочный мотор, то транец надо обязательно проклеить стеклотканью и укрепить досками из деревьев твердых пород.
- После того как будет произведена черновая сборка, следует приступать к проклейке.
Вернуться к оглавлению
Клеевые работы
- Прежде всего понадобится приготовить состав из эпоксидной смолы и аэросила. Элементы нужно смешать в пропорции 1:1, для чего рекомендуется использовать соответствующую насадку на дрель. Смесь должна быть консистенции сметаны.
- Углы между днищем, бортиками и транцем нужно усилить при помощи деревянных галтелей – уголков небольших размеров, которые способны обеспечить жесткость соединения.
- Полоски из стеклоткани нужно наклеить на все швы изнутри, хорошо промазывая стыки приготовленной смесью. В большинстве клеящих смесей содержатся летучие токсины. В связи с этим лакировочные и покрасочные работы нужно производить с использованием средств защиты дыхательных органов.
- После того как клеящая смесь высохнет, понадобится установить шпангоуты на выбранные места.
- Чтобы зафиксировать шпангоуты, следует использовать ту же клеящую смесь. Если изготавливаемая лодка имеет большие размеры, то для усиления конструкции шпангоуты рекомендуется дополнительно закрепить на дне и бортиках полосками стеклоткани внахлест.
- Настил укладывается на дно, закрепляются уключины, сидения и остальные элементы.
- Если в передней части судна нужно обустроить закрытое пространство, то понадобится установить крышку. Данный элемент закрепляется на бортиках и шпангоутах.
Дно самодельной лодки изготавливается из цельного куска фанеры, но его надо обязательно стыковать с бортиками и кормой. Потому стыки нужно обязательно проклеивать. В этом случае можно применить различные водостойкие составы, но если подобных нет в наличии, то можно использовать густотертую краску на масляной основе. При сжатии и разбухании стыка подобная смесь не будет пропускать воду. Стык также понадобится стянуть саморезами, минимальный шаг при этом составляет 40 см. Все швы следует обязательно проконопатить полотном.
После того как конструкция просохнет, ее нужно снять с козлов, перевернуть и прошлифовать наружное основание. Далее изготовленной смесью обрабатываются швы и проклеивается дно стеклотканью.
