Заговор Катилины Первый триумвират Гражданская война 49-45 до н. э. Второй триумвират
- 1-й класс: наступательное — гладий , гаста и дротики (tela), защитное — шлем (galea), панцирь (lorica), бронзовый щит (clipeus) и поножи (ocrea);
- 2-й класс — то же, без панциря и скутум вместо clipeus;
- 3-й класс — то же, без поножей;
- 4-й класс — гаста и пика (verutum).
- наступательное — испанский меч (gladius hispaniensis)
- наступательное — пилум (особое метательное копье);
- защитное — железная кольчуга (lorica hamata).
- наступательное — кинжал (pugio).
В начале Империи:
- защитное — панцирь лорика сегментата (Lorica Segmentata, сегментированная лорика), поздний пластинчатый доспех из отдельных стальных сегментов. Входит в обиход начиная с I в. Происхождение пластинчатой кирасы не совсем ясно. Возможно, она была заимствована легионерами из вооружения гладиаторов-крупеллариев, участвовавших в мятеже Флора Сакровира в Германии (21 г.).Также в этот период появляются кольчуги (lorica hamata) с двойным кольчужным покрытием на плечах, особенно популярные у кавалеристов. Облегченные (до 5-6 кг) и более укороченные кольчуги находят применение и во вспомогательных пехотных частях. Шлемы так называемого имперского типа .
- наступательное — «помпейский» меч, утяжелённые пилумы .
- защитное — чешуйчатый доспех (lorica squamata)
Униформа
- paenula (короткий шерстяной тёмный плащ с капюшоном).
- туника с длинными рукавами, сагум (sagum) — плащ без капюшона, прежде неверно считавшийся классическим римским военным.
Строй
Манипулярная тактика
Практически общепринятым является мнение, что в период своего господства этруски ввели фалангу и у римлян, a впоследствии римляне сознательно изменили вооружение и построение. Это мнение основывается на сообщениях о том, что некогда римляне пользовались круглыми щитами и строились фалангой наподобие македонской , однако, в описаниях сражений VI-V вв. до н. э. отчётливо видна доминирующая роль конницы и вспомогательная роль пехоты — первая часто даже располагалась и действовала впереди пехоты.
Если ты хочешь быть трибуном или если, попросту говоря, хочешь жить, то сдерживай своих солдат. Пусть никто из них не украдёт чужой курицы, не тронет чужой овцы; пусть никто не унесёт кисти винограда, хлебного колоса, не требует себе масла, соли, дров. Пусть всякий довольствуется своей законной порцией… Пусть оружие у них будет вычищено, отточено, обувь крепка… Пусть жалованье у солдата остается в поясе, а не в кабаке… Пусть он холит своего коня и не продаёт его корма; пусть все солдаты сообща ходят за центурионным мулом. Пусть солдаты… ничего не дают гадателям… кляузники пусть подвергаются побоям…
Медицинская служба
В различные периоды существовало 8 должностей военного медперсонала:
- medicus castrorum — лагерный врач, подчинялся префекту лагеря (praefectus castrorum), а в его отсутствие — легионному трибуну;
- medicus legionis, medicus cohortis, optio valetudinarii — последний — заведующий военным госпиталем (валетудинарием), все 3 должности существовали лишь при Траяне и Адриане ;
- medicus duplicarius — врач на двойной зарплате;
- medicus sesquiplicarius — врач на полуторной зарплате;
- capsarius (deputatus, eques capsariorum) — конный санитар с походной аптечкой (capsa) и с седлом с 2 стременами на левой стороне для эвакуации раненых, входил в отряд из 8-10 чел.; предположительно могли набираться из числа так наз. immunes (англ.)
- Roemercohorte Opladen (нем.)
Данный выпуск сделан на основании трехтомника “Военная история” Разина и книги “На семи холмах” М.Ю.Германа, Б.П.Селецкого, Ю.П.Суздальского. Выпуск не является специальным историческим исследованием и предназначается в помощь тем, кто занимается изготовлением военной миниатюры.
Краткая историческая справка
Древний Рим – государство, покорившее народы Европы, Африки, Азии, Британии. На весь мир славились римские солдаты своей железной дисциплиной (но не всегда она была железной), блестящими победами. Римские полководцы шли от победы к победе (были и жестокие поражения), пока под тяжестью солдатского сапога не оказались все народы Средиземноморья.
Римская армия в разное время имела разную численность, количество легионов, различное построение. С совершенствованием военного искусства изменялись вооружение, тактика и стратегия.
В Риме существовала всеобщая воинская повинность. В армии начинали служить юношами с 17 лет и до 45 в полевых частях, после 45 до 60 – служили в крепостях. От службы освобождались лица, участвовавшие в 20 кампаниях в пехоте и в 10 в кавалерии. Сроки службы со временем тоже менялись.
В свое время, в связи с тем, что все хотели служить в легкой пехоте (вооружение стоило дешево, оно приобреталось за свой счет), граждане Рима были разделены на разряды. Это было сделано при Сервии Туллии. К 1-му разряду относились люди, обладавшие имуществом, которое оценивалось не менее, чем в 100.000 медных ассов, ко 2-му – как минимум 75.000 ассов, к3-му – в 50.000 ассов, к 4-му – 25.000 ассов, к 5-му – 11.500 ассов. Все бедняки входили в 6-й разряд – пролетариев, богатством которых было лишь потомство (proles). Каждый имущественный разряд выставлял определенное число войсковых единиц – центурий (сотен): 1-й разряд – 80 центурий тяжелой пехоты, являвшихся основной боевой силой, и 18 центурий всадников; всего 98 центурий; 2-й – 22; 3-й – 20; 4-й – 22; 5-й – 30 центурий легковооруженных и 6-й разряд – 1 центурию, в целом 193 центурии. Легковооруженные воины использовались в качестве обозной прислуги. Благодаря разделению на разряды, не было нехватки в тяжеловооруженных, легковооруженных пехотинцах и всадниках. Не служили пролетарии и рабы, так как им не доверяли.
Со временем государство взяло на себя не только содержание воина, но и удерживало с него из жалования за питание, вооружение и снаряжение.
После тяжелейшего поражения под Каннами и в ряде других мест, после Пунических войн армия была реорганизована. Было резко увеличено жалование, разрешили служить в армии пролетариям.
Непрерывные войны требовали много солдат, изменения вооружения, построения, обучения. Армия становилась наемной. Такую армию можно было вести куда угодно и против кого угодно. Так и произошло, когда к власти пришел Люций Корнеллий Сулла (1 в. до н.э.).
Организация римского войска
После победоносных войн IV-III в.в. до н.э. под власть Рима попали все народы Италии. Чтобы держать их в повиновении, римляне предоставляли одним народам больше прав, другим меньше, сея между ними взаимное недоверие и ненависть. Именно римляне сформулировали закон “разделяй и властвуй”.
А для этого нужны были многочисленные войска. Таким образом, римское войско состояло из:
а) легионов, в которых служили сами римляне, состоявших из тяжелой и легкой пехоты и приданной им кавалерии;
б) италийских союзников и союзной конницы (после предоставления италикам прав гражданства, влившихся в легион);
в) вспомогательных войск, набранных из жителей провинций.
Основной тактической единицей был легион. Во времена Сервия Туллия легион насчитывал 4200 человек и 900 всадников, не считая 1200 легковооруженных солдат, не входивших в строевой состав легиона.
Консул Марк Клавдий изменил строй легиона и вооружение. Это произошло в IV веке до н.э.
Легион был разделен на манипулы (по-латински – горсть), центурии (сотни) и декурии (десятки), которые напоминали современные роты, взводы, отделения.
Легкая пехота – велиты (буквально – быстрые, подвижные) шла впереди легиона в рассыпном сторю и завязывала бой. При неудаче отходила в тыл и на фланги легиона. Всего их было 1200 человек.
Гастаты (от латинского “гаста” – копье) – копьеносцы, 120 человек в манипуле. Составляли первую линию легиона. Принципы (первые) – 120 человек в манипуле. Вторая линия. Триарии (третьи) – 60 человек в манипуле. Третья линия. Триарии были самые опытные и испытанные бойцы. Когда древние хотели сказать, что настал решающий момент, говорили: “Дело дошло до триариев”.
В каждой манипуле было по две центурии. В центурии гастатов или принципов было по 60 человек, а триариев в центурии было 30 человек.
Легиону придавалось 300 всадников, составлявшие 10 турм. Кавалерия прикрывала фланги легиона.
В самом начале применения манипулярного порядка легион шел в бой тремя линиями и, если встечалось препятствие, которое легионеры были вынуждены обтекать, таким образом получался разрыв боевой линии, манипул из второй линии спешила закрыть брешь, а место манипула из второй линии занимал манипул из третьей линии. Во время схватки с врагом легион представлял монолитную фалангу.
Со временем третью линию легиона стали использовать как резерв, решавший судьбу сражения. Но если полководец неправильно определял решающий момент боя, легион ждала гибель. Поэтому со временем римляне перешли к когортному строю легиона. Каждая когорта насчитывала 500-600 человек и с приданным конным отрядом, действуя отдельно, представляла собой легион в миниатюре.
Командный состав римской армии
В царское время командующим был царь. Во времена республики командовали консулы, разделив войска пополам, но когда нужно было объединиться, командовали поочередно. Если была серьезная угроза, то выбирался диктатор, которому подчинялся начальник кавалерии, в отличие от консулов. Диктатор имел неограниченные права. У каждого командующего были помощники, которым поручались отдельные части армии.
Отдельными легионами командовали трибуны. Их было шестеро на легион. Каждая пара командовала в течении двух месяцев, сменяя друг друга каждый день, затем уступая второй паре свое место, и т.д. Трибунам были подчинены центурионы. Каждой центурией командовал центурион. Командир первой сотни был командиром манипула. Центурионы имели право солдата за проступки. Они носили с собой виноградную лозу – римскую розгу, это орудие редко оставалось без дела. Римский писатель Тацит рассказывал об одном центурионе, которого вся армия знала под кличкой: “Передай другую!” После реформы Мария, сподвижника Суллы, центурионы триариев получили большое влияние. Их приглашали на военный совет.
Как и в наше время, в римской армии были знамена, барабаны, литавры, трубы, рожки. Знамена представляли собой копье с перекладиной, на которой висело полотнище из одноцветного материала. Манипулы, а после реформы Мария когорты, имели знамена. Над перекладиной было изображение зверя (волка, слона, коня, кабана…). Если подразделение совершало подвиг, то оно награждалось – награда крепилась к древку знамени; этот обычай сохранился и в наши дни.
Значком легиона при Марии был серебряный орел или бронзовый. При императорах он делался из золота. Потеря знамени считалась величайшим позором. Каждый легионер должен был защищать знамя до последней капли крови. В трудную минуту полководец кидал знамя в гущу врагов, чтобы побудить воинов вернуть его обратно и рассеять врагов.
Первое, чему учили солдат – неотступно следовать за значком, за знаменем. Знаменосцы выбирались из сильных и опытных солдат и пользовались большим почетом и уважением.
По описанию Тита Ливия, знамена представляли собой квадратное полотнище, пришнурованное к горизонтальной перекладине, укрепленной на шесте. Окраска полотнища была различной. Все они были однотонными – пурпурными, красными, белыми, синими.
Пока пехота союзников не слилась с римлянами, ей командовали три префекта, выбираемые из числа римских граждан.
Большое значение придавалось интендантской службе. Глава интендантской службы – квестор, ведавший фуражом и продовольствием для армии. Он следил за доставкой всего необходимого. Кроме того, каждая центурия имела своих фуражиров. Особый чиновник, как каптенармус в современной армии, раздавал продукты солдатам. При штабе имелся штат писцов, счетоводов, кассиров, выдававших солдатам жалование, жрецов-гадателей, военных полицейских чиновников, шпионов, трубачей-сигналистов.
Все сигналы подавались трубой. Звук трубы репетировался изогнутыми рожками. При смене караула трубили в трубу-фуцину. В кавалерии употреблялась особая длинная труба, изогнутая на конце. Сигнал к сбору войска на общее собрание давали все трубачи, собранные перед палаткой полководца.
Обучение в римской армии
Обучение бойцов римского манипулярного легиона прежде всего заключалось в том, чтобы выучить солдат идти вперед по приказу центуриона, заполнять разрывы в боевой линии в момент столкновения с противником, спешить слиться в общую массу. Выполнение этих маневров требовало более сложного обучения, чем при обучении воина, сражавшегося в фаланге.
Обучение заключалось еще и в том, что римский солдат был уверен – его не бросят одного на поле боя, что товарищи поспешат к нему на помощь.
Появление легионов, разделенных на когорты, усложнение маневра потребовало более сложного обучения. Не случайно после реформы Мария один из его сподвижников, Рутилий Руф, ввел в римской армии новую систему обучения, напоминавшую систему обучения гладиаторов в гладиаторских школах. Только хорошо обученные солдаты (тренированные) могли преодолеть страх и сблизиться с противником, нападать с тыла на огромную массу врага, чувствуя рядом только когорту. Так мог сражаться только дисциплинированный солдат. При Марии была введена когорта, в которую входили три манипула. В легионе было десять когорт, не считая легкой пехоты, и от 300 до 900 всадников.

Рис.3 – Когортный боевой порядок.
Дисциплина
Римская армия, славившаяся своей дисциплиной, в отличие от других армий того времени, целиком была во власти полководца.
Малейшее нарушение дисциплины каралось смертной казнью, также и невыполнение приказа. Так, в 340 году до н.э. сын римского консула Тита Манлия Торквата во время разведки без приказа главнокомандующего вступил в бой с начальником вражеского отряда и победил его. Об этом он рассказывал в лагере с восторгом. Однако консул осудил его на смертную казнь. Приговор был приведен в исполнение тут же, несмотря на мольбы всего войска о пощаде.
Перед консулом всегда шли десять ликторов, несших пучки розог (фасциев, фашин). В военное время в них вставлялся топор. Символ власти консула над своими починенными. Сначала провинившегося секли розгами, затем отрубали голову топором. Если часть или все войско обнаруживало трусость в бою, то проводилась децимация. Децем в переводе на русский означает десять. Так поступил Красс после разгрома нескольких легионов Спартаком. Было выпорото, а затем казнено несколько сот солдат.
Если солдат засыпал на посту, его отдавали под суд, а затем забивали насмерть камнями и палками. За легкие провинности могли выпороть, понизить в чине, перевести на тяжелые работы, уменьшить жалование, лишить гражданства, продать в рабство.
Но были и награды. Могли повысить в чине, увеличить жалование, наградить землей или деньгами, освобождали от лагерных работ, награждали знаками отличия: серебряными и золотыми цепочками, брастетами. Награждение проводил сам полководец.
Обычными наградами были медали (фалеры) с изображением лика бога или полководца. Высшими знаками отличия были венки (короны). Дубовый давался солдату, спасшего товарища – римского гражданина в бою. Венец с зубчатой стеной – тому, кто первый взобрался на стену или вал вражеской крепости. Корона с двуми золотыми носами кораблей, – солдату, первым вступившему на палубу вражеского корабля. Осадный венок давался полководцу, снявшему осаду с города или крепости или освободившему их. Но самая высокая награда – триумф, – давалась полководцу за выдающуюся победу, при этом должно было быть убито не менее 5000 врагов.
Триумфатор ехал на позолоченной колеснице в пурпурной мантии, расшитой пальмовыми листьями. Колесница была запряжена четверкой белоснежных лошадей. Перед колесницей несли военную добычу и вели пленных. За триумфатором шли родственники и друзья, песенники, солдаты. Звучали триумфальные песни. То и дело заздавались крики “Ио!” и “Триумф!” (“Ио!” соответствует нашему “Ура!”). Раб, стоявший позади триумфатора на колеснице, напоминал ему о том, что тот простой смертный и чтобы он не зазнавался.
Например, солдаты Юлия Цезаря, влюбленные в него, идя за ним, подшучивали и смеялись над его плешью.
Римский лагерь
Римский лагерь был хорошо продуман и укреплен. Римское войско, как говорили, таскает за собой крепость. Как только делался привал, сразу же начиналось строительство лагеря. Если надо было двигаться дальше, лагерь бросали недостроенным. Даже разбитый ненадолго, отличался от однодневного более мощными укреплениями. Иногда армия оставалась в лагере на зиму. Такой лагерь называли зимним, вместо палаток строили дома и бараки. Кстати, на месте некоторых римских тагерей возникли такие города, как Ланкастер, Рочестер и другие. Из римских лагерей выросли Кёльн (римская колония Агрипинна), Вена (Виндобона)… Города, в окончании которых есть “…честер” или “…кастр”, возникли на месте римских лагерей. “Каструм” — лагерь.
Место для лагеря выбирали на южном сухом склоне холма. Поблизости должны были находиться вода и пастбище для обозного скота, топливо.
Лагерь представлял собой квадрат, позже прямоугольник, длина которого была на одну треть протяженнее ширины. Прежде всего намечалось место претория. Это квадратная площадь, сторона которой равнялась 50 метрам. Здесь ставились палатки командующего, жертвенники, трибуна для обращения к солдатам полководца; здесь же происходил суд и сбор войска. Направо была палатка квестора, налево – легатов. По обеим сторонам помещались палатки трибунов. Перед палатками через весь лагерь проходила улица шириной 25 метров, главную улицу пересекала другая, шириной 12 метров. На концах улиц были ворота и башни. На них стояли баллисты и катапульты (одно и то же метательное орудие, получило название от метаемого снаряда, баллиста метала ядра, катапульта – стрелы). По сторонам правильными рядами стояли палатки легионеров. Из лагеря войска могли без сутолки и беспорядка выступить в поход. Каждая центурия занимала десять палаток, манипул – двадцать. Палатки имели досчатый остов, двускатную досчатую крышу и обтягивались кожей или грубым полотном. Площадь палатки от 2,5 до 7 кв. м. В ней жила декурия – 6-10 человек, двое из которых постоянно находились в карауле. Палатки преторианской гвардии и кавалерии были больших размеров. Лагерь обносили частоколом, широким и глубоким рвом и валом высотой 6 метров. Между валами и палатками легионеров было расстояние в 50 метров. Это делалось для того, чтобы неприятель не мог зажечь палатки. Перед лагерем устраивали полосу препятствий из нескольких контрвалационных линий и заграждений из заостренных кольев, волчьих ям, деревьев с заостренными сучьями и сплетенными между собой, образовывавших почти непроходимое препятствие.
Поножи носили римские легионеры с древнейших времен. При императорах были упразднены. Но центурионы продолжали их носить. Поножи имели цвет металла, из которого изготавливались, иногда раскрашивались.
Во времена Мария знамена были серебряными, во времена империи золотыми. Полотнища были разноцветными: белыми, синими, красными, пурпурными.

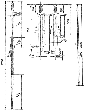
Рис. 7 – Оружие.
Кавалерийский меч в полтора раза длиннее пехотного. Мечи одоюдоострые, рукоятки делались из кости, дерева, металла.
Пилум – тяжелое копье с металлическим наконечником и стержнем. Наконечник с зазубринами. Древко деревянное. Средняя часть копья обмотана плотно виток к витку шнуром. На конце шнура делали одну-две кисточки. Наконечник копья и стержень были из мягкого прокованного железа, до железа – из бронзы. Пилум метали по щитам противника. Впившееся в щит копье тянуло его к низу, и воин был вынужден бросить щит, так как копье весило 4-5 кг и тащилось по земле, так как наконечник и стержень сгибались.

Рис. 8 – Скутумы (щиты).
Щиты (скутумы) приобрели полуцилиндрическую форму после войны с галлами в IV в. до н. э. Скутумы делались из легких, хорошо просушенных, плотно пригнанных друг к другу досок осины или тополя, обтянуты полотном, а сверху бычьей кожей. По краю щиты окаймлялись полосой металла (бронзы или железа) и крестом клались полосы через центр щита. В центре помещалась остроконечная бляха (умбон) – навершие щита. Легионеры хранили в нем (он был съемный) бритву, деньги и другие мелкие вещи. С внутренней стороны были ременная петля и металлическая скоба, были написаны имя владельца и номер центурии или когорты. Кожа могла быть крашеная: красная или черная. Руку просовывали в ременную петлю и брались за скобу, благодаря этому щит плотно висел на руке.
Шлем в центре более ранний, слева более поздний. На шлеме было три пера длиной 400 мм, в древние времена шлемы были бронзовые, позднее железные. Шлем иногда украшался в виде змей по бокам, которые наверху образовывали место, куда вставляли перья. В более поздние времена единственным украшением шлема был гребень. На макушке римский шлем имел кольцо, в которое продевался реммешок. Шлем носили на спине или на пояснице, как носят современную каску.
Римские велиты были вооружены дротиками и щитами. Щиты были круглые, из дерева или металла. Одеты велиты были в туники, позднее (после войны с галлами) все легионеры стали носить еще и штаны. Часть велитов была вооружена пращами. У пращников на правом боку, через левое плечо, висели сумки для камней. У некоторых велитов могли быть мечи. Щиты (деревянные) обтягивались кожей. Цвет одежды мог быть любой, кроме пурпурного и его оттенков. Велиты могли носить сандалии или ходить босиком. Лучники в римской армии появились после поражения римлян в войне с Парфией, где погиб консул Красс и его сын. Тот самый Красс, который разбил войска Спартака под Брундизием.
Рис 12 – Центурион.
Центурионы имели посеребренные шлемы, не имели щитов и меч носили с правой стороны. Они имели поножи и как отличительный знак на доспехах на груди имели изображение виноградной лозы, свернутой в кольцо. Во времена манипулярного и когортного построения легионов, центурионы находились на правом фланге центурий, манипулов, когорт. Плащ красного цвета, причем все легионеры носили красные плащи. Лишь диктатор и высшие командиры имели право носить пурпурные плащи.
Шкуры животных выполняли роль седел. Стремян римляне не знали. Первые стремена были веревочными петлями. Лошади были не кованы. Поэтому лошадей очень берегли.
Использованная литература
1. Военная история. Разин, 1-2 т. т., Москва, 1987
2. На семи холмах (Очерки о культуре древнего Рима). М.Ю. Герман, Б.П. Селецкий, Ю.П. Суздальский; Ленинград, 1960.
3. Ганнибал. Тит Ливий; Москва, 1947.
4. Спартак. Рафаэлло Джованьоли; Москва, 1985.
5. Флаги государств мира. К.И. Иванов; Москва, 1985.
6. История древнего Рима, под общей редакцией В.И. Кузищиной; Москва, 1981.
Публикация: Библиотека военно-исторической комиссии — 44, 1989
Тех, кого отобрали для службы в пешем войске, делили по трибам. Из каждой трибы отбирали четырех человек примерно одного возраста и телосложения, которые представали перед трибунами. Первым выбирал трибун первого легиона, затем второго и третьего; четвертому легиону доставался оставшийся. В следующей группе из четырех новобранцев первым выбирал солдата трибун второго легиона, а первый легион забирал себе последнего. Процедура продолжалась, покуда не набиралось 4 200 человек для каждого легиона. В случае опасного положения число воинов могло быть увеличено до пяти тысяч. Следует указать, что в другом месте Полибий говорит, что легион состоял из четырех тысяч пеших воинов и двухсот всадников, а возрасти это количество могло до пяти тысяч пеших и трех сотен конных легионеров. Было бы несправедливо сказать, что он сам себе противоречит — скорее всего это приблизительные данные.
Набор завершался, и новички приносили клятву. Трибуны выбирали одного человека, который должен был выступить вперед и поклясться повиноваться своим командирам и в меру всех своих сил исполнять их приказы. Затем все остальные также делали шаг вперед и клялись поступать так же, как он («Idem in me»). Затем трибуны указывали место и дату сбора для каждого легиона так, чтобы все оказались распределены по своим отрядам.
Покуда проходил набор рекрутов, консулы отправляли приказы союзникам, указывая требовавшееся от них количество войска, а также день и место встречи. Местные магистраты набирали рекрутов и приводили их к присяге — так же, как и в Риме. Затем они назначали командира и казначея и давали приказ выступать.
По прибытии в назначенное место новобранцев вновь делили на группы в соответствии с их богатством и возрастом. В каждом легионе, состоявшем из четырех тысяч двухсот человек, наиболее молодые и бедные становились легковооруженными воинами — велитами. Их было тысяча двести. Из оставшихся трех тысяч те, что помоложе, формировали первую линию тяжелой пехоты — 1 200 гастатов; находившиеся в полном расцвете сил становились принципами, их также было 1 200. Старшие по возрасту формировали третью линию боевого порядка — триариев (их еще называли пилами). Их насчитывалось 600 человек, причем независимо от того, какого размера был легион, триариев всегда оставалось шесть сотен. Число людей в других подразделениях могло пропорционально увеличиваться.
Из каждого вида войска (за исключением велитов) трибуны выбирали десятерых центурионов, которые, в свою очередь, избирали еще десять человек, которые также именовались центурионами. Избранный трибунами центурион являлся старшим. Самый первый центурион легиона (primus pilus) имел право участвовать в военном совете вместе с трибунами. Выбирали центурионов, исходя из их стойкости и отваги. Каждый центурион назначал себе помощника (optio). Полибий именует их «урагами», приравнивая к «замыкающим строй» греческой армии.
Трибуны и центурионы делили каждый вид войска (гастатов, принципов и триариев) на десять отрядов-манипулов, которые нумеровались числами от одного до десяти. Велиты распределялись поровну среди всех манипулов. Первым манипулом триариев командовал примипил, старший центурион.
Подборка интересных и неожиданных фактов из жизни легионеров Древнего Рима.

1.Возраст.Традиционно все римские граждане мужского пола в возрасте от 17 до 46 лет были военнообязанными. Большинство солдат набиралось в легионы в возрасте от 17 до 23 лет. Основной возраст для вступления в армию был 20 лет, но известны случаи, когда в войска попадали в возрасте 13-14 или 36 лет.

2.Происхождение.Говоря о своем происхождении, большинство легионеров называли небольшие городки или крупные города. На самом деле лишь немногие из них прибывали из городских центров. Большинство городов были торговыми центрами сельскохозяйственной округи и имели прикрепленные сельские территории. Некоторые части Империи были практически не затронуты урбанизацией. Во многих случаях происхождение, указываемое при вступлении в армию, было просто вымышленным. Его получали при вступлении в армию вместе с римским гражданством.Крестьяне-фермеры составляли основу гражданского ополчения в период Республики, а сельская местность оставалась основной для набора рекрутов вплоть до периода Поздней Империи. Солдатам из сельской местности отдавали предпочтение из-за их выносливости, а также потому, что они не были испорчены развлечениями городской жизни.

3.Рост.Идеальным для легионера считался рост в шесть римских футов (177 см). Солдаты, рост которых был не ниже 172 см, подбирались для первой когорты. I легион Италика Нерона получил известность по двум причинам. Во-первых, за то, что состоял из итальянских рекрутов, а во-вторых, за то, что входившие в него солдаты имели рост не меньше шести римских футов. Заслуживают внимания утверждения, что солдаты, рост которых был ниже, принимались в другие легионы.Скелет солдата, погибшего в Помпее в 79 г. н.э., показал, что его рост достигал 170 см, а солдат из форта при Вельсене в Голландии имел рост 190 см. Он мог быть из Фризии. Свидетельства IV в. н.э. говорят о том, что солдаты ростом 165 см принимались в элитные подразделения армии. Следовательно, для сельского населения, из которого и набирались рекруты, это был самый высокий рост.

4.Воинская повинность.Многие легионеры, если не большинство их, попадали в армию по призыву и не всегда были в достаточной степени подготовлены. «Дилектус» (призыв) был необходим в связи с частыми гражданскими войнами и завоеваниями, осуществлявшимися при Августе. В армию предпочитали принимать добровольцев, но со временем призыв вошел в обычную практику.Предполагалось, что рекрут-легионер является римским гражданином, однако гражданские войны и завоевательная политика приводили к тому, что легионы были рассеяны по всей территории империи, что, в свою очередь, вынуждало командиров набирать рекрутов на местах.Единственным принципиальным требованием для призывников и добровольцев при вступлении в легионы было их свободное рождение, а не римское гражданство. Гражданство же могло предоставляться или сразу при вступлении в армию, или в какой-то момент во время несения службы.

5.Подготовка.В течение четырех изнурительных месяцев набранных в легионы рекрутов ежедневно тренировали. Подготовка начиналась с отработки военного шага.От новобранцев требовалось, чтобы за пять часов они могли проходить обычным шагом 29 км и ускоренным шагом — 35 км, притом, что на себе им приходилось нести снаряжение весом в 20,5 кг.По возможности, новобранцев также старались обучить плаванию, чтобы в ходе наступления реки не были для них непреодолимым препятствием. Новобранцев также обучали стрельбе из лука, метанию пращи и верховой езде, чтобы они могли обращаться с любым оружием.Когда рекрут уже мог передвигаться на марше с требуемой скоростью и разбирать команды, подаваемые с помощью горнов и знамен, начинались бесконечные маневры по отработке этих навыков. Отрабатывались различные построения: каре, клин, круг и «тестудо» («черепаха» — мобильное построение, в котором группа солдат была полностью закрыта со всех сторон щитами).

6.Их учили преодолевать препятствия при наступлении и отступлении, менять строй и замещать те или иные подразделения в ходе боя. Новобранцев учили также рассеивать боевую линию, поскольку этот навык мог пригодиться в бою.В тренировках с оружием использовались изготовленные из дерева и прутьев мечи, дротики и щиты, вес которых вдвое превышал вес настоящего оружия. Приемы с оружием отрабатывались на тренировочных столбах высотой 180 см.Главное внимание инструкторы уделяли отработке умения эффективно прикрываться щитом и наносить мечом колющие, а не рубящие удары, поскольку этим способом противнику можно было нанести более глубокие раны.Тренировки с оружием могли проводиться два раза в день.

7.Тренировки продолжались и после того, как новобранец становился регулярным солдатом. Ежемесячно солдаты могли совершать по три марш-броска с полной выкладкой.В конце каждого марш-броска солдатам приходилось возводить укрепленный лагерь, обнесенный рвом и земляным валом. Все это, вместе с упорядоченной внутренней структурой подразделений, являлось основой римской военной практики.

8.Подготовка римских солдат перед военной кампанией и ежедневная отработка приемов по владению оружием, по мере их приближения к зоне боевых действий, имели решающее значение. При этом необходимо учитывать, что в мирное время многие подразделения были недоукомплектованы и их численность не соответствовала стандарту.Многим солдатам приходилось выполнять разнообразные обязанности по всей провинции, комплектуя гарнизоны и выполняя функции полиции («стационарии»), принимая участие в возведении различных построек, собирая налоги или выполняя поручения провинциальной администрации.Только в тех случаях, когда легиону предстояло принять участие в крупномасштабных боевых действиях, большая часть личного состава собиралась вместе, и структурные подразделения начинали отрабатывать приемы, которые им предстояло выполнять в сражении.

9.Срок службы.В I в. до н.э.,служба в легионах продолжалась 6 лет, но Август значительно увеличил этот срок.Обычно самый большой срок службы в легионах во II — III вв. до н.э. достигал 16 лет. В 13 г. до н.э. эта ситуациябыла формализована: теперь легионерам предстояло служить в течение 16 лет и по окончании этого срока получатькрупную денежную премию, чтобы избежать разногласий, связанных с земельными наделами. Однако, прослужив 16 лет, солдат должен был провести еще четыре года в корпусе ветеранов легиона — «вексиллум ветеранорум».

10.К 5-6 гг. н.э. Август увеличил срок службы до 20 лет, но при этом и «премия милитаре» (выплата при демобилизации) также была увеличена до 12 тыс. сестерций (3 тыс. динариев).Обширные завоевания в Центральной Европе,начиная с 16 г. до н.э., приводили к тому, что солдат задерживали на службе значительно дольше установленных сроков.К середине I в. н.э. легионерам был установлен срок службы 25 лет, а военная служба ветеранов стала постепенно сокращаться. Некоторым легионерам приходилось служить 26 лет, потому что демобилизация происходила раз в два года и выпадала на «четные» года.

11.Оплата.В 14 г. н.э. годовое жалование легионера составляло 900 сестерций (225 динариев). Демобилизационная выплата составляла около 12 тыс. сестерций (3 тыс. динариев).Офицеры получали полуторную или двойную оплату («сескуипликари» и «дупликари»). Из жалования удерживалась стоимость снаряжения, одежды, еды, похоронных услуг.Кроме того, определенная сумма поступала в «полковой сберегательный банк», надзор за которым осуществлял «сигнифер». Размер жалования не повышался до правления императора Домициана (81-96 гг. н.э.), притом, что жалование, даже после вычетов, никогда не выплачивалось полностью.Демобилизационные выплаты также не всегда выплачивались, и солдат могли обмануть, наделив их участками земли плохого качества. «[Фермы], которыми их наделяли, часто были просто болотами или каменистыми горными склонами».

12.Командование.Римский легион часто описывают как безотказную военную машину. Но легион мог хорошо проявлять себя лишь тогда, когда боевой дух воинов был на должном уровне. Легионеры могли впадать в панику и терпеть поражения точно так же, как и солдаты любых других армий.Легионеры добивались больших успехов при умелом руководстве своих офицеров. Цезарь, Антоний, Германий, Цецина и Веспасиан были командирами, способными повести за собой личным примером и разделявшими тяготы и лишения солдатской службы.Центурионы, которых отличал Цезарь и упоминает Иосиф Флавий, были храбрыми и стойкими офицерами, способными проявить свой авторитет в кризисных ситуациях и погасить панические настроения среди личного состава. Но не всеофицеры обладали достаточной уверенностью, храбростью и талантом, чтобы умело вести за собой солдат.Многие из них были жестокими и продажными. При отсутствии справедливого руководства, легионеры в бою действовалнеслаженно, и они часто проявляли склонность к бунтам и мятежам.

13.Четверть солдат каждой центурии могла находиться в отпуске или слоняться по лагерю без дела, заплатив за это центуриону.Никого не волновало, каким образом они добывали деньги. Для того чтобы купить себе временное освобождение от военной службы, солдаты добывали деньги грабежом на дорогах, мелким воровством или занимаясь грязной работой.Самым богатым солдатам могли специально давать наиболее утомительную работу, пока они не купят себе право на передышку.Затем обнищавший и деморализованный от безделья солдат возвращался в свою центурию, променяв богатство на бедность, а энергичность на лень. Так, развращаясь один за другим от нищеты и отсутствия дисциплины, они были готовы бунтовать, проявлять неповиновение и, в конце концов, принимать участие в гражданской войне.Но Отон пообещал, что оплата ежегодных отпусков будет осуществляться за счет императорской казны. Это было, безусловно, полезное нововведение, которое позднее, при мудрых императорах, стало обязательным правилом службы».

14.Идентификация подразделения.Легионы традиционно обозначались номерами и названиями.С середины I в. до н.э., когда срок нахождения легионов в боевой готовности был увеличен, им стали присваивать почетные титулы в дополнение к номерам.Легионеров также обозначали по номерам и названиям их легионов. Вместе с этим каждый легион имел собственную эмблему, связанную, вероятно, с его основателем. Для III легиона Галлика это бьш бык Цезаря, для XIIII легиона Гемина — козерог Августа. Иногда эти эмблемы были связаны с боевыми заслугами легиона.Так, эмблемой V легиона Алауда был слон, а X легиона Фретенсис — дельфин и боевой корабль. Ежегодный пир в честь основания легиона («наталис аквилэ» — день рождения орла), парады и показательные учения имели важнейшее значение для поддержания боевого духа, поскольку в мирное время это мог быть единственный период, когда все подразделение собиралось вместе.

15.Групповая идентификация.Тем, что действительно заставляло легионера эффективно сражаться, было его ощущение принадлежности к своей центурии и, особенно, к своему «контуберниуму».Такое отождествление с подразделением и преданность своим товарищам по службе имело решающее значение в сражении. В первую очередь легионер сражался за своих товарищей, свою центурию и легион, затем за добычу и славу, и, наконец, за находившихся далеко императора и Рим.Тесные узы между восьмеркой солдат из «контуберниума» были тем крепче, что им приходилось жить вместе в одном бараке или в одной палатке во время военной кампании. Другим фактором сближения был общий прием пищи. В римской армии не было ни общих трапез для всех солдат, ни общих столовых, расположенных на территории лагеря. Во время военных кампаний не было организации крупных поставок продовольствия.Предполагалось, что римские солдаты будут сами готовить себе еду и расплачиваться за продукты с помощью вычетов из жалования.

16.Легионеры центурии сражались эффективно потому, что хорошо знали друг друга и были друзьями. Центурия была не настолько крупным подразделением, чтобы они чувствовали себя безликими и отчужденными.Более того, легионеры испытывали чувство гордости, отождествляя себя со своей центурией. Связанные узами товарищества, они старались уберечь своих друзей от гибели в бою, прикрывая их и сражаясь за них.

17.Термины «манипуларис» или «комманипуларис» (солдаты одной манипулы) выражали готовность центурий и отдельных легионеров полагаться друг на друга, чтобы победить и остаться живыми в сражении.Наиболее выразительным термином, часто встречающимся в надписях на могильных плитах, был термин «фратер» (брат). Разные фамилии погибших на таких памятниках говорят о том, что они не были настоящими братьями, но этим термином выразительно и просто обозначалась основополагающая связь между товарищами.Если легион может быть описан как общество, то «контуберниум» был семьей легионеров.

18.Солдаты предпочитали умирать вместе со своими товарищами, чем сдаваться на милость врага.В военное время чувство братства усиливалось, и солдаты поддерживали другие подразделения так же,как и своих ближайших товарищей.

19.Военная присяга.Военную присягу — «сакраментум» — произносили все римские солдаты. Эта клятва имела религиозное значение и связывала солдата с императором и государством. Ее повторяли каждый год в день новогоднего праздника. Вегеций представляет христианскую версию этой присяги, относящуюся к IV в. н.э.«Они клялись Богом, Христом и Святым Духом, а также Величеством Императора, который вслед за Богом должен был быть самым любимым и почитаемым всеми людьми…”Эти солдаты клялись, что будут неуклонно выполнять все приказы императора, никогда не дезертируют и не откажутся умереть за Римское государство».До введения установленной официальной присяги в 216 г. до н.э. легионеры должны были произносить две добровольных клятвы.Первая клятва была обязательством повиноваться консулу. Во второй клятве солдаты манипулы обещали друг другу не покидать товарищей в трудном положении ради спасения своей жизни и никогда не оставлять свое место в строю во время сражения, за исключением тех случаев, когда необходимо вернуть себе оружие, атаковать противника или спасти товарища.

20.Награды.Высшей наградой, доступной легионеру вне зависимости от его звания, был гражданский венок из дубовых листьев — «corona civica», которым награждали за спасение товарища в бою.Наиболее ценным проявлением мужества и самоотверженности в сражении было оттеснить противника для спасения упавшего товарища. Это было высшим проявлением товарищества, когда легионеры вели сражение друг за друга. Это была основа эффективности римской армии.

21.Полибий отмечает, что римляне награждали доблестных солдат наградами в виде украшений (медалей). Они следили за тем, чтобы такие солдаты были заметны своим командирам на поле боя и носили для этого шкуры животных или гребни и перья.Среди наград за доблесть, которыми награждали легионеров всех званий, были «торквесы» (шейные обручи-гривны), «фалеры» (медали), носимые на доспехах, и «армиллэ» (наручи-браслеты) из драгоценных металлов.Кроме того, легионеров могли поощрять денежными премиями и продвижением по службе. Награды в виде венков, «копий» и «знамен»были предназначены для центурионов и офицеров высшего ранга.

22.Наказания.В легионах поддерживалась суровая дисциплина. Трусость в бою и такие дисциплинарные нарушения, как сон на посту, наказывались посредством «фустиариум» (когда солдата забивали до смерти его товарищи, жизни которых он подверг опасности), бичеванием или понижением в звании.Если трусость в сражении проявляло все подразделение, тогда по жребию каждого десятого солдата этого подразделения казнили. Это наказание применяли редко и в самых крайних случаях.Другие наказания носили более символический характер. Их целью было пристыдить нарушителей дисциплины.Нарушителя могли посадить на ячменную диету или исключить из общей военной жизни, разместив его за пределами военного лагеря.Их могли лишить военных поясов (т.е. звания военного) и заставить маршировать перед штаб-квартирой в тяжелых шлемах и с тяжелыми палками или кусками дерна в руках. Эти наказания могли быть отменены только тогда, когда солдату удавалось реабилитировать себя в бою.

23.Храбрость и инициатива.Несмотря на то внимание, которое уделялось дисциплине и сохранению сплоченного строя в бою, в римской армии терпимо относились и иногда даже поощряли отчаянную храбрость и проявление личной инициативы.

24.Вероятно, солдаты могли действовать самостоятельно или вопреки приказам из-за плохой связи с командирами на поле боя.Ясно, что такие независимые действия могли сильно влиять на исход сражения. Во время осады Гамалы в 67 г. н.э. три солдата из XV легиона Аполли-нарис, действуя на свой страх и риск, сумели выломать пять опорных камней изоснования угловой башни и разрушить ее, обеспечив римлянам захват города (Иосиф Флавий. «Иудейская война», 4, 63-66).Во втором сражении при Кремоне два легионера императора Флавия, прикрывшись щитами убитых солдат из вителлианского XV легиона Примигения, ввели в заблуждение солдат Вителлия и, подойдя на близкое расстояние, смогли вывести из строя огромную торсионную катапульту, которая препятствовала наступлению флавианцев.Все эти солдаты погибли, осуществляя свою операцию. Полководец Светоний Паулин утверждал, что исход целого сражения мог зависеть иногда от действий нескольких легионеров
Гражданская война 49-45 до н. э. Второй триумвират
Древнери́мская а́рмия, Ри́мское во́йско (лат. exercitus, ранее — classis) — регулярное войско Древнего Рима , один из основных элементов римского общества и государства.
Октавиан Август к 14 году нашей эры сократил армию до 28 легионов . Во время расцвета Древнего Рима общая численность армии обычно составляла до 100 тыс. человек, но могла увеличиваться до 250-300 тыс. чел. и более. По другим данным в эпоху Гонория общая численность войск обоих частей римской империи составляла 900 000-1 000 000 солдат . После реформ Диолектиана и Константина численность римской армии составило 600-650 тысяч человек, из которых 200 тысяч составляла мобильная армия, а остальное — гарнизоны . Этнический состав римской армии менялся с течением времени: в I в. н. э. она была преимущественно армией римлян, в конце I — начале II в. армией италиков, но уже в конце II — начале III в. н. э. превратилась в армию романизированных варваров, оставшись «римской» лишь по названию . Римская армия имела лучшее для своего времени вооружение, опытный и хорошо подготовленный командный состав, отличалась жёсткой дисциплиной и высоким военным искусством полководцев, применявших самые совершенные способы ведения боевых действий, добиваясь полного разгрома противника.
Основным родом войск являлась пехота. Флот обеспечивал действия сухопутных войск на приморских направлениях и переброску армий на территорию противника по морю. Значительное развитие получило военно-инженерное дело, устройство полевых лагерей, умение совершать быстрые переходы на большие расстояния, искусство осады и обороны крепостей.
Основной организационной и тактической единицей армии являлся легион. Со второй половины IV века до н. э. легион состоял из 10 манипул (пехота) и 10 турм (конница), с первой половины III века до н. э. — из 30 манипул (каждая из которых делилась на две центурии) и 10 турм. Всё это время численность его оставалась неизменной — 4,5 тыс. человек, включая 300 всадников. Тактическое расчленение легиона обеспечивало высокую манёвренность войск на поле боя. Со 107 года до н. э. в связи с переходом от милиционной к профессиональной наёмной армии легион стал делиться на 10 когорт (каждая из которых объединяла три манипулы). В состав легиона также входили стенобитные и метательные машины и обоз. В I веке н. э. численность легиона достигла прим. 7 тыс. чел. (в том числе ок. 800 всадников).
Организационная структура
Почти во все периоды существовали одновременно:
Под понятием signum понимались или манипулы, или центурии.
Вспомогательные войска делились на когорты и алы (в Позднюю Империю их сменяют клинья — cunei).Иррегулярные войска (numeri) не имели четкого численного состава, так как соответствовали традиционным предпочтениям народов, их составлявших, например mauri (мавры).Вексилляциями назывались отдельные отряды, которые выделялись из какого-либо подразделения, например легиона. Так, вексилляцию могли отправить на помощь другому подразделению или же на постройку моста.
Вооружение
- 1-й класс: наступательное — гладий , гаста и дротики (tela), защитное — шлем (galea), панцирь (lorica), бронзовый щит (clipeus) и поножи (ocrea);
- 2-й класс — то же, без панциря и скутум вместо clipeus;
- 3-й класс — то же, без поножей;
- 4-й класс — гаста и пика (verutum).
- наступательное — испанский меч (gladius hispaniensis)
- наступательное — пилум (особое метательное копье);
- защитное — железная кольчуга (lorica hamata).
- наступательное — кинжал (pugio).
В начале Империи:
- защитное — панцирь лорика сегментата (Lorica Segmentata, сегментированная лорика), поздний пластинчатый доспех из отдельных стальных сегментов. Входит в обиход начиная с I в. Происхождение пластинчатой кирасы не совсем ясно. Возможно, она была заимствована легионерами из вооружения гладиаторов-крупеллариев, участвовавших в мятеже Флора Сакровира в Германии (21 г.).Также в этот период появляются кольчуги (lorica hamata) с двойным кольчужным покрытием на плечах, особенно популярные у кавалеристов. Облегченные (до 5-6 кг) и более укороченные кольчуги находят применение и во вспомогательных пехотных частях. Шлемы так называемого имперского типа .
- наступательное — «помпейский» меч, утяжелённые пилумы .
- защитное — чешуйчатый доспех (lorica squamata)
Униформа
- paenula (короткий шерстяной тёмный плащ с капюшоном).
- туника с длинными рукавами, сагум (sagum) — плащ без капюшона, прежде неверно считавшийся классическим римским военным.
Строй
Манипулярная тактика
Практически общепринятым является мнение, что в период своего господства этруски ввели фалангу и у римлян, a впоследствии римляне сознательно изменили вооружение и построение. Это мнение основывается на сообщениях о том, что некогда римляне пользовались круглыми щитами и строились фалангой наподобие македонской , однако, в описаниях сражений VI-V вв. до н. э. отчётливо видна доминирующая роль конницы и вспомогательная роль пехоты — первая часто даже располагалась и действовала впереди пехоты.
Если ты хочешь быть трибуном или если, попросту говоря, хочешь жить, то сдерживай своих солдат. Пусть никто из них не украдёт чужой курицы, не тронет чужой овцы; пусть никто не унесёт кисти винограда, хлебного колоса, не требует себе масла, соли, дров. Пусть всякий довольствуется своей законной порцией… Пусть оружие у них будет вычищено, отточено, обувь крепка… Пусть жалованье у солдата остается в поясе, а не в кабаке… Пусть он холит своего коня и не продаёт его корма; пусть все солдаты сообща ходят за центурионным мулом. Пусть солдаты… ничего не дают гадателям… кляузники пусть подвергаются побоям…
Медицинская служба
В различные периоды существовало 8 должностей военного медперсонала:
- medicus castrorum — лагерный врач, подчинялся префекту лагеря (praefectus castrorum), а в его отсутствие — легионному трибуну;
- medicus legionis, medicus cohortis, optio valetudinarii — последний — заведующий военным госпиталем (валетудинарием), все 3 должности существовали лишь при Траяне и Адриане ;
- medicus duplicarius — врач на двойной зарплате;
- medicus sesquiplicarius — врач на полуторной зарплате;
- capsarius (deputatus, eques capsariorum) — конный санитар с походной аптечкой (capsa) и с седлом с 2 стременами на левой стороне для эвакуации раненых, входил в отряд из 8-10 чел.; предположительно могли набираться из числа так наз. immunes;
- medicus ordinarius (miles medicus) — рядовой врач или штабной хирург, в каждой когорте их было 4.
Учащийся назывался discens capsariorum.
Набор мог быть обычным, из новобранцев, из квалифицированных медиков по договору, из рабов, которых потом отпускали или, в экстренных случаях, обязательный, из гражданских лиц.
См. также
Примечания
Первоисточники
- Флавий Вегеций Ренат . «Краткое изложение военного дела».
- Цезарь . «Записки о Галльской войне ». «Записки о Гражданской войне ».
- Аппиан . «Гражданские войны». «Сирийские войны». «Пунические войны». «Митридатовы войны». «Иллирийские войны», «Македонские войны».
- Иосиф Флавий . «Иудейская война».
- Луций Анней Флор . «Две книги римских войн».
- Гай Саллюстий Крисп . «Югуртинская война».
- Флавий Арриан . «Диспозиция против аланов».
- Секст Юлий Фронтин . «Стратагемы».
- Аноним. «Александрийская война».
- Аноним. «Африканская война».
- Аноним. «Записки о войне в Испании».
- Tabulae Vindolandae
Неспециализированные первоисточники см. .
